EasyManua.ls Logo

ELTEX ESR-100 - Page 17

ELTEX ESR-100
109 pages
To Next Page IconTo Next Page
To Next Page IconTo Next Page
To Previous Page IconTo Previous Page
To Previous Page IconTo Previous Page
Loading...
ESR Series Routers Operation Manual 17
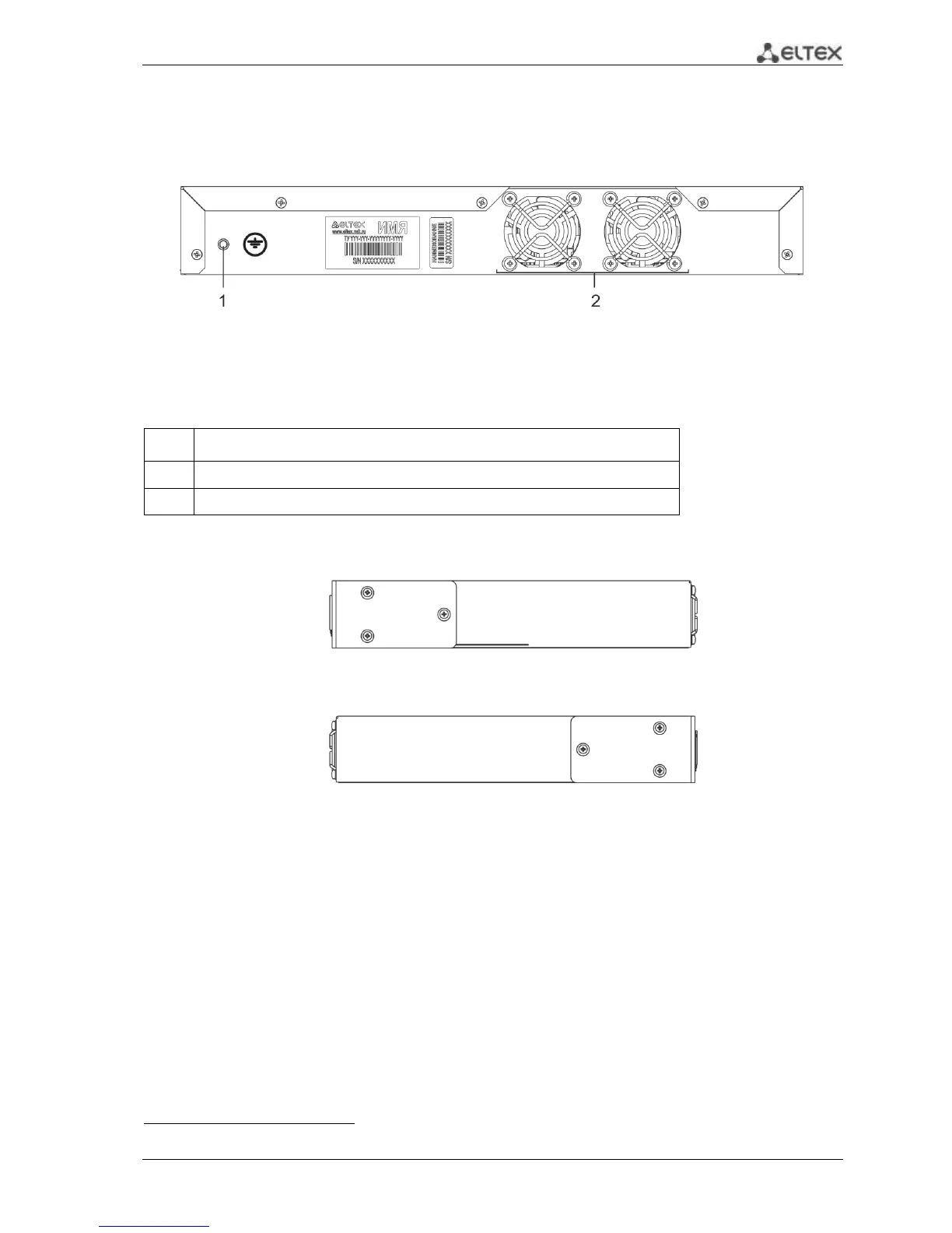
2.4.2.2 ESR-100, ESR-200 rear panel
The rear panel layout of ESR-100 and ESR-200 routers is depicted in Fig. 2.8
1
.
Fig. 2.8 ESR-1000, rear panel
Table 2.13 lists rear panel connectors of the router.
Table 2.13 Description of rear panel connectors of the router
No.
Description
1
Earth bonding point of the device.
2
Ventilation module.
2.4.2.3 ESR-100, ESR-200 side panels
Fig. 2.9 The right-side panel of ESR-100 and ESR-200 routers
Fig. 2.10The left-side panel of ESR-100 and ESR200 routers
1
The figure shows the router delivery package with a single AC power supply.

Table of Contents

Other manuals for ELTEX ESR-100

Related product manuals