EasyManua.ls Logo

EMKO esm-4450 - Page 73

EMKO esm-4450
119 pages
Print Icon
To Next Page IconTo Next Page
To Next Page IconTo Next Page
To Previous Page IconTo Previous Page
To Previous Page IconTo Previous Page
Loading...
73
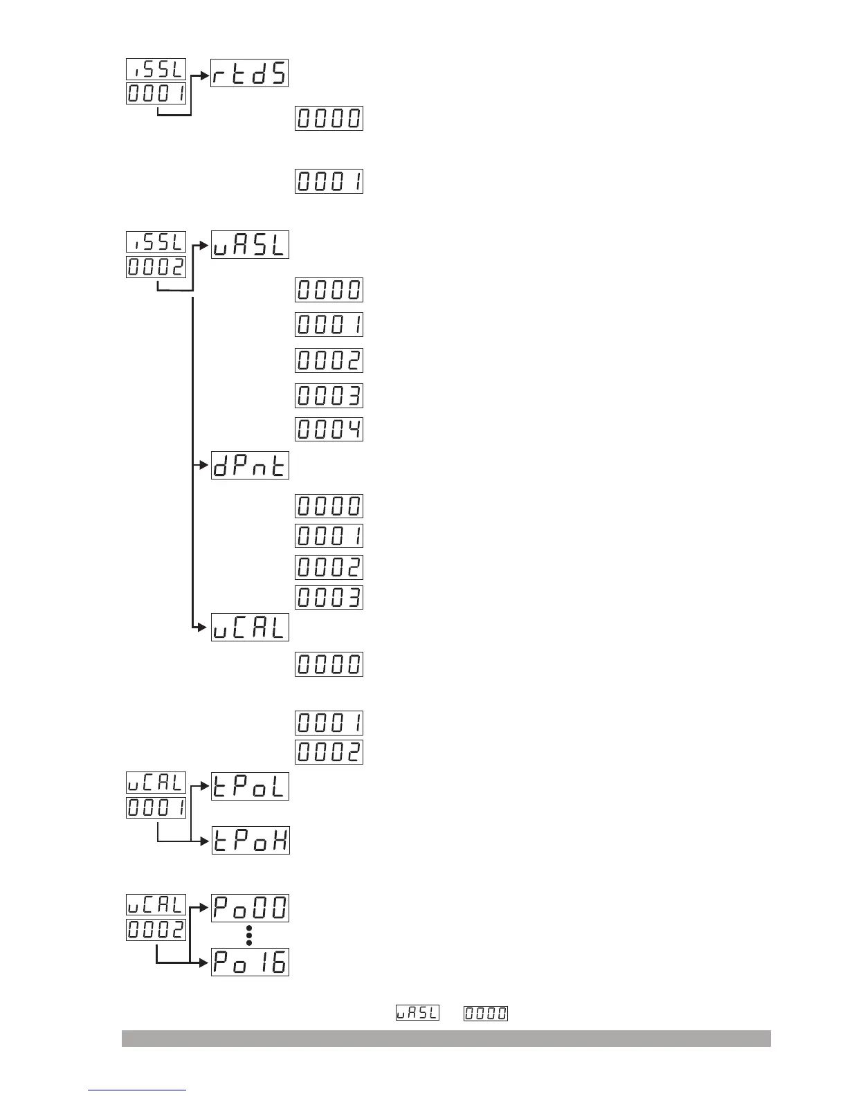
Defines type and scale of sensor for RTD input. It is active if RTD input
is selected.
Definesinputrangeandscaleof Voltage/currentinput.Z Itisactive
if Voltage/Currentisselected.Z
0...50mV (-1999;9999)Z
0...5V (-1999;9999)Z
0...10V (-1999;9999)Z
0...20mA (-1999;9999)Z
4...20mA (-1999;9999)Z
Sensor type : PT-100
Scale: -200°C to 650°C (If unit is °C)
Scale: -328°F to 1202°F (If unit is °F)
Sensor type : PT-100
Scale: -199.9°C to 650.0°C (If unit is °C)
Scale: -199.9°F ile 999.9°F (If unit is °F)
Defines point position for displays. It is active if Voltage/Current
input is selected.
Z
It is active when Voltage/Current input is selected. It determines
calibration type.
Z
No point
Fixed dual point calibration is done. It does not allow to
adjust minimum and maximum value of calibration points. It
can be adjusted from -1999 to 9999.
00.00
It allows to define 16 calibration points.
0.000
000.0
It allows to do selectable dual point calibration.
It defines minimum value for selectable dual point calibration. It is
active if Voltage/Current input is selected. It can be adjusted from
-1999 to 9999.
Z
It defines maximum value for selectable dual point calibration. It is
active if VZ oltage/Current is selected. It can be adjusted from -1999
to 9999.
In multi point calibration, calibration points are defined with these
parameters.
It is active if Voltage /Current is selected. It can be adjusted from
-1999 to 9999.
In multi point calibration operation, defined scale is divided into 16
calibration points.
is (0-50 mV ) .
Z
ZFor example :

Table of Contents