EasyManua.ls Logo

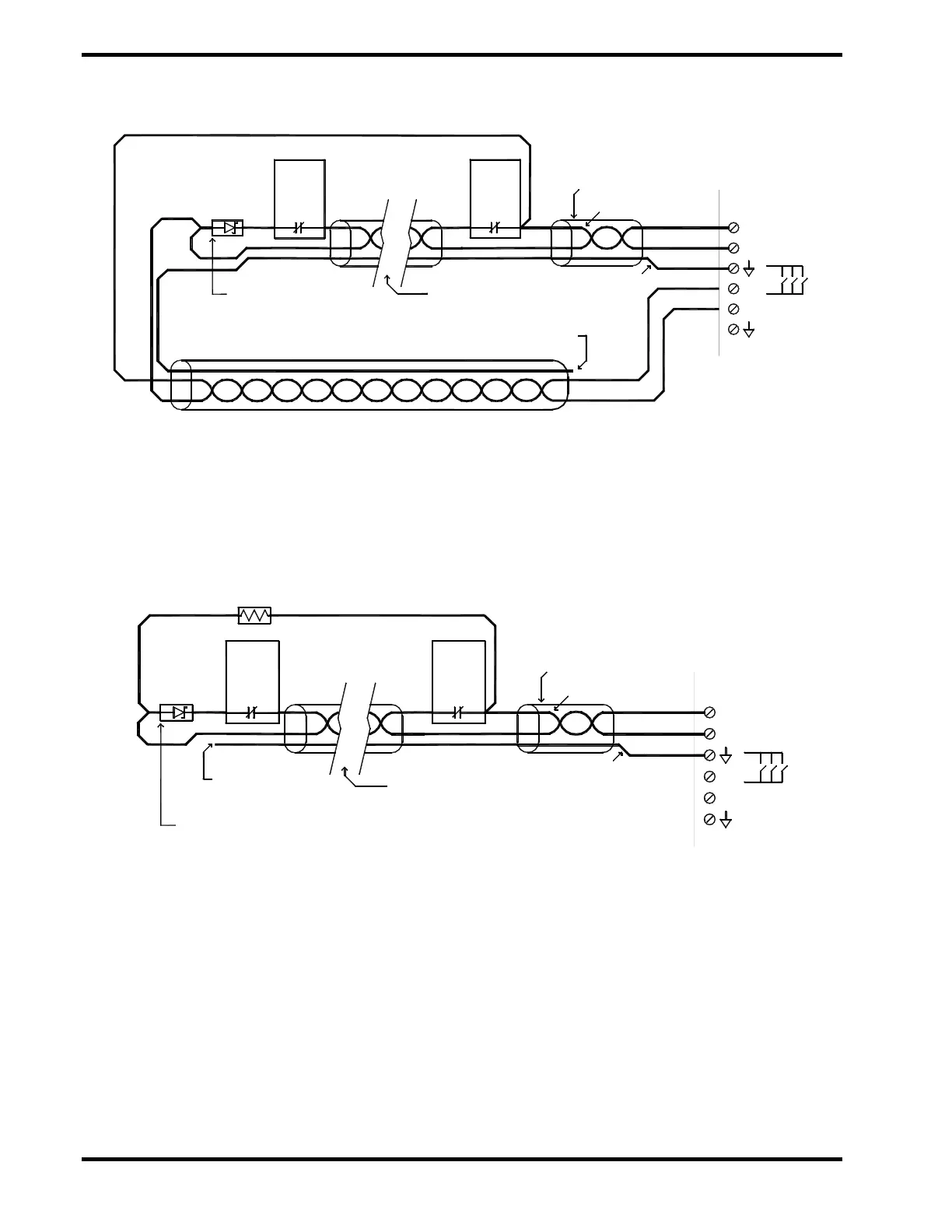
EPC Epaco E10-0066 - Exhibit 4-8 Detection Circuit 3 - NC (Class A); Exhibit 4-9 Detection Circuit 3 - NC (Class B)

Default Icon
40 pages
Print Icon
To Next Page IconTo Next Page
To Next Page IconTo Next Page
To Previous Page IconTo Previous Page
To Previous Page IconTo Previous Page
Loading...
FIKE CORPORATION
Page 8 of 32 Fike Explosion Protection System FM 3020541
10/06 P/N E06-051 Rev. 8
Twisted Pair
Device
Contact
Series
2v4
Additional Alarm Initiating Devices
Alarm
Contact
Initiating
Drain Wire
Shield
+
++
- -
-
P3
N/C
Alarm
Contact
Initiating
N/C
1st
Last
820 ohms
End of Line
Device
No termination
of Shield Wire
[ insulate ]
2.4 volt zener diode
Twisted Pair
Device
Contact
Series
2v4
Additional Alarm Initiating Devices
Alarm
Contact
Initiating
Drain Wire
Shield
+
++
- -
-
P3
N/C
Alarm
Contact
Initiating
N/C
1st
Last
No termination
of Shield Wire
[ insulate ]
2.4 volt zener diode
Exhibit 4-8 Detection Circuit 3 – NC (Class A)
Exhibit 4-9 Detection Circuit 3 – NC (Class B)

Table of Contents