EasyManua.ls Logo

Epson LQ-570 - Interface Timing

Epson LQ-570
153 pages
To Next Page IconTo Next Page
To Next Page IconTo Next Page
To Previous Page IconTo Previous Page
To Previous Page IconTo Previous Page
Loading...
Interface Specifications
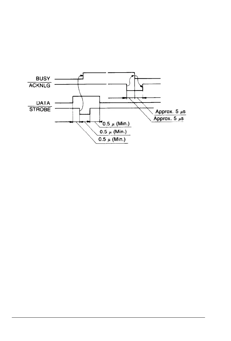
Interface timing
The figure below shows the timing for the parallel interface.
Technical Specifications
7-13

Table of Contents

Other manuals for Epson LQ-570

Related product manuals