EasyManua.ls Logo

ESAB A2TF J1 - Page 52

ESAB A2TF J1
60 pages
Print Icon
To Next Page IconTo Next Page
To Next Page IconTo Next Page
To Previous Page IconTo Previous Page
To Previous Page IconTo Previous Page
Loading...
SPARE PARTS LIST
0449 165 160
- 52 -
© ESAB AB 2020
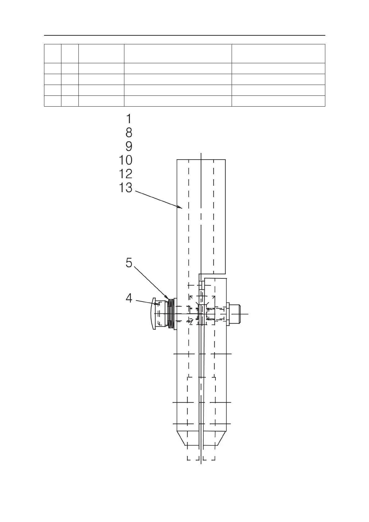
Item
no.
Qty Ordering no. Denomination Notes
0417 959 881 Contact equipment L = 275 mm
4 1 0443 372 001 Screw
5 4 0219 504 307 Beleville spring T = 1.1
8 1 0443 344 881 Pipe L = 275

Table of Contents

Related product manuals