EasyManua.ls Logo

EXE Rise - Page 77

Default Icon
80 pages
Print Icon
To Next Page IconTo Next Page
To Next Page IconTo Next Page
To Previous Page IconTo Previous Page
To Previous Page IconTo Previous Page
Loading...
USE AND MAINTENANCE MANUALUSE AND MAINTENANCE MANUAL
Chain hoist from 198kg to 2500kg
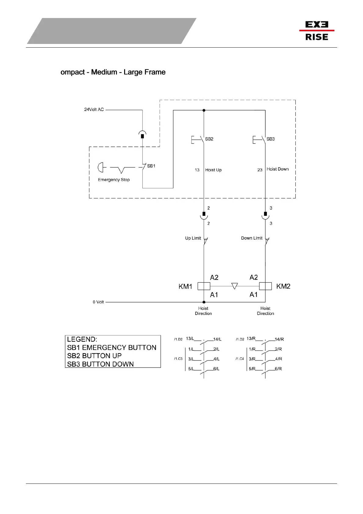
12.2.2 SMALL FRAME - CONTROL DIAGRAM12.2.2 SMALL FRAME - CONTROL DIAGRAM
Medium Compact - Medium - Large FrameMedium Compact - Medium - Large Frame
LLaanngguuaaggee:: EENN MMaannuuffaaccttuurreerr:: RRWWMM SS..RR..LL AAuutthhoorriisseedd rreepprreesseennttaattiivvee:: AARREEAA FFOOUURR IINNDDUUSSTTRRIIEESS IITTAALLIIAA SSRRLL
77

Table of Contents