EasyManua.ls Logo

EZA ECB Series - Entrées Courant Continu

Default Icon
94 pages
Print Icon
To Next Page IconTo Next Page
To Next Page IconTo Next Page
To Previous Page IconTo Previous Page
To Previous Page IconTo Previous Page
Loading...
66
FR
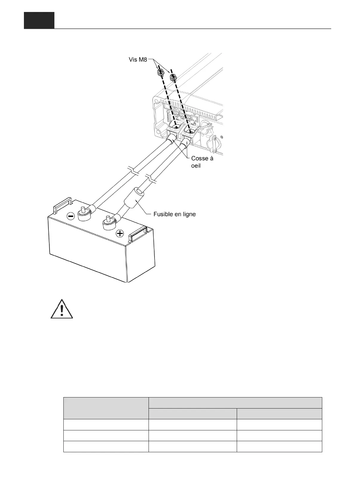
Ne rien placer entre la cosse
à œil et le contact sur la
borne.
Procéder comme indiqué sur
le schéma.
Schéma 16. Câblage batterie
AVERTISSEMENT !
Lors de la mise en service initiale, une étincelle peut se produire car les
condensateurs internes se chargent. Ceci est un phénomène normal.
4-1. Entrées courant continu
Raccorder les bornes d’entrée courant continu à une batterie 12 V, 24 V ou 48 V
ou à une autre source courant continu. [+] correspond à la borne positive et [-] à la
borne négative. Une inversion de polarités peut griller le fusible interne et
endommager irrémédiablement le convertisseur.
Modèle
Tension d’entrée courant continu
Minimum
Maximum
12 V
10 V
16 V
24 V
20 V
32 V
48 V
40 V
64 V
Tableau 16. Série ECB - Plage de tensions admissibles (entrée courant continu)

Table of Contents

Related product manuals