EasyManua.ls Logo

Fanimation LEVON MAD7912B Series

Fanimation LEVON MAD7912B Series
56 pages
To Next Page IconTo Next Page
To Next Page IconTo Next Page
To Previous Page IconTo Previous Page
To Previous Page IconTo Previous Page
Loading...
Cómo realizar la instalación eléctrica del ventilador de
techo (cont.)
ADVERTENCIA
Las aspas debe ser instalarse primero antes de
programación.
Les lames doivent être installées avant la
programmation.
AVERTISSEMENT
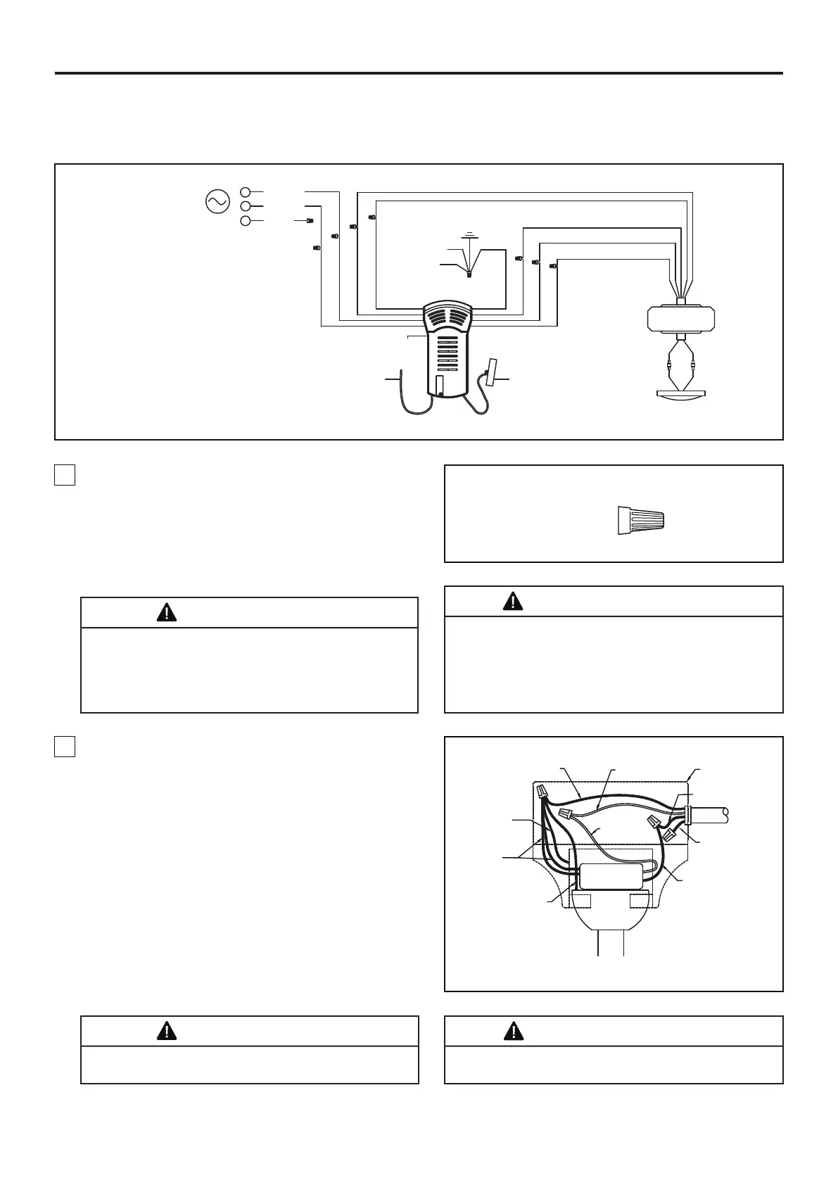
Figura 4
40
Rojo
L1
AzulBlanco
Negro
Negro
Blanco
Blanco
ALIMENTACIÓN
DE CA
Rojo
Gris
Amarillo /
Verde (2)
Puesta a tierra
Abrazadera
para colgar
Bola para
colgar
DC de MOTOR
Receptor
Azul
Azul
Marrón
Marrón
Kit De Luz
Amarillo
Rojo
Gris
Amarillo
L
N
3. Realice las conexiones de cables al bloque del
terminal como se muestra en la Figura 4.
ADVERTENCIA
Verifique que todas las conexiones estén ajustadas,
incluida la conexión a tierra, y que no haya conductores
desnudos visibles en los conectores. No opere el
ventilador hasta que las aspas estén instaladas. Podría
ocasionar ruidos y daños al motor.
Aditamentos utilizados:
X 9
Vérifiez que tous les raccordements sont bien serrés, y
compris la mise à la terre, et qu’aucun fil dénudé n’est
visible au niveau des capuchons de connexion.Ne faites
pas fonctionner le ventilateur avant d'avoir installé les
pales. Du bruit et des dommages au moteur pourraient
en résulter.
AVERTISSEMENT
Conectores
de cable
PRECAUCIÓN: UNA
CONEXIÓN
INCORRECTA
DEL
CABLE PODRÍA DAÑAR ESTE RECEPTOR.
ATTENTION: UNE CONNEXION DE FIL INCORRECTE
PEUT ENDOMMAGER CE RECEPTEUR.
4. Una vez haya hecho las conexiones, coloque los
cables hacia arriba y empújelos cuidadosamente
hacia dentro de la caja de la toma de corriente,
poniendo los cables blancos y verdes a un lado de la
caja y los negros hacia el otro lado. Los cables deben
ser colocados de forma extendida poniendo el
conductor de la toma de tierra y el conductor de toma
de tierra del equipo a un lado de la caja, colocando el
conductor sin toma de tierra en el otro lado de la caja.
(Figura 5)
Caja de salida
homologada
Conductor blanco
del suministro
Conductor verde
del suministro
(puesta a tierra)
Suministro
eléctrico
Conductor negro
del suministro
Conductor negro
del receptor
Conductor
blanco
del receptor
Conductor verde
del soporte de
suspensión
(puesta a tierra)
Conductor verde
de la bola
para colgar
(puesta a tierra)
Conductor
verde del
receptor (2)
(puesta a tierra)
Receptor
Conductor rojo
del suministro
Figura 5
Antena RF Antena WIFI

Related product manuals