EasyManua.ls Logo

Fantech SHR 1504 - Installation Simplifiée - Option 2

Fantech SHR 1504
44 pages
Print Icon
To Next Page IconTo Next Page
To Next Page IconTo Next Page
To Previous Page IconTo Previous Page
To Previous Page IconTo Previous Page
Loading...
30
fantech
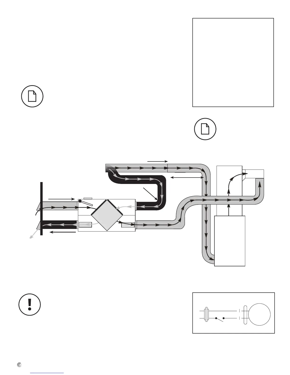
Air vicié provenant de l'intérieur
Extérieur
1 m (3 pi
3 po) min.
recommandé
retrour
d'air frais
* Les raccords de conduit
peuvent être différents
selon le modèle.
Conduits VRC/Fournaise pour Installation simplifiée - Option 2
Fournaise à
air pulsé
INSTALLATION SIMPLIFIÉE (BONNE)
OPTION 2
1. Si la ventilation du VRC doit être assurée, il peut être nécessaire de faire
fonctionner le ventilateur de la fournaise. La fournaise devrait être réglée
pour fonctionner continuellement ou en synchronisme avec le VRC.
2. Pour fins d'acceptation, vérifiez auprès des autorités locales au sujet des
codes du bâtiment propres à votre région.
Exemple d'installation (Suite)
Dans le cas d’une installation
simplifiée, il est recommandé
d’utiliser l’option 1.
* L’appareil est généralement équilibré à Normale vitesse et pendant
que le ventilateur de la fournaise est en marche.
Air frais distribué à l'intérieur
Installation suggérée pour:
Lorsque la salle de bain
et la cuisine ont déjà un
système d’échappement
Peut convenir pour la
modernisation
Avantages: Type d’installation
le moins dispendieux à mettre
en place
Les ventilateurs récupérateurs de chaleur (VRC) de Fantech qui utilisent un arrêt du
ventilateur d'alimentation pour la prévention de gel ne comprennent pas un volet motorisé
pour l'air extérieur. Si vous utilisez une installation simpliée, c'est à dire relier de
conduit d'alimentation d'air du VRC à l'aire du conduit de retour d'une fournaise, le VRC
doit fonctionner en continu. Lorsque le VRC est éteint, pas d'air d'évacuation chaud circule
à travers le VRC mais le ventilateur da fournaise continuera à aspirer l'air extérieur direc-
tement dans la fournaise. S'il fait froid dehors, l'air froid sera introduit, sans réchauffage,
directement dans la fournaise.
Si le VRC est installé de telle sorte que le propriétaire peut désactiver le VRC au cours de
l'hiver, nous vous recommandons d'installer un volet motorisé entre l'apport d'air du VRC
et le retour d'air du conduit de la fournaise qui se ferme lorsque le VRC ne fonctionne pas.
Voir le schéma de câblage (gure 1). Vous pouvez aussi choisir d'utiliser une VRC Fantech
qui utilise un dégivrage de recirculation qui intègre un volet d'air extérieur.
Damper
Motor
24 VAC Transformer
COM
NO
VRC Furnace interlock
Voir page 38.
24V
120V
Figure 1
* Le transformeur et le moteur du volet ne sont pas inclus.
RACCORDEMENT DIRECT du FLUX D’AIR D’APPROVISIONNEMENT du VRC à la BOUCHE DE
REPRISE D’AIR DE LA FOURNAISE
Air vicié évacué
à l'extérieur
Air frais provenant
de l'extérieur

Table of Contents

Other manuals for Fantech SHR 1504

Related product manuals