EasyManua.ls Logo

Fellow Kogyo FOCAS-2000 - Specifications; 2-1. Product Specification

Fellow Kogyo FOCAS-2000
40 pages
Print Icon
To Next Page IconTo Next Page
To Next Page IconTo Next Page
To Previous Page IconTo Previous Page
To Previous Page IconTo Previous Page
Loading...
Page. 4
2. Specifications
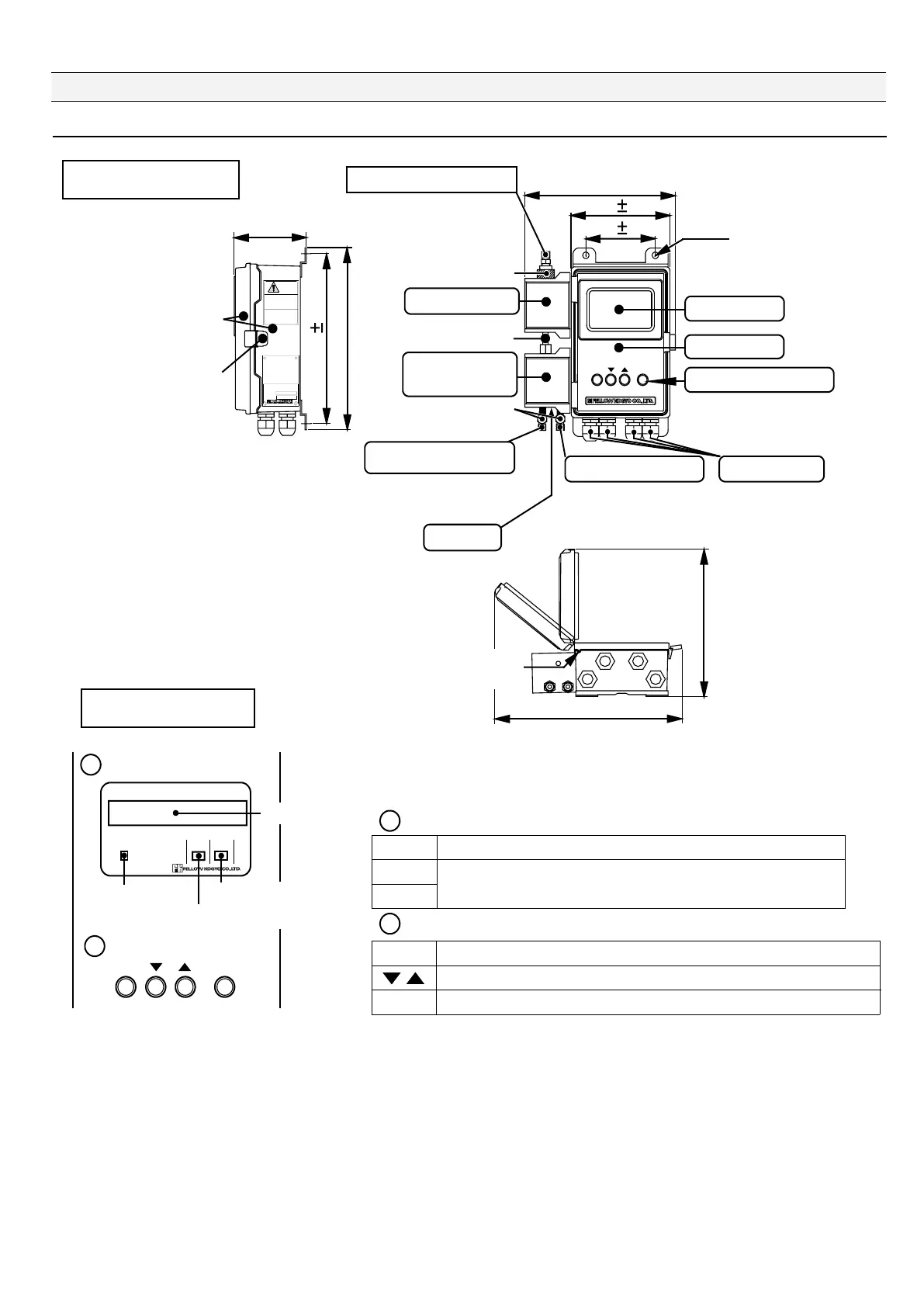
䦟䎃 2-2. External dimensions and component names
165 4.0
116 1.0
4-10
251
Esc
Enter
(M4)
Esc
Enter
Used to set items and select a function excluding the Auto Run function.
Used to change display items and select or change set values.
Used to determine and execute a setting.
POWER
AL. 1
AL. 2
260 1.2
283.5
122
⵾ㅧ⇟ภ
SERIAL N O.
M
LEDO
ဳᑼ
㪬㪪㪚㪞㩷㪥㫆㪅
CANADA NO,
MODEL OF TYPE APPROVAL
15ppm Bilge Alarm
FOCAS-2000
DATE
⵾ㅧᐕ᦬
20䇭䇭䇭䋭
ᵈᗧ
CAUTION
䬢䭛䭘䬽ᵈᗧ䭡ᕃ䭚䬷䫺ᯏེ䬽៊்䭓ṳ㔚᡿╬䭡↢
䬧䭚ᕟ䭛䬛䬑䭙䫺䭍䬮ᯏ⢻ᡰ㓚䬷䬹䭙䭍䬨䬽䬶චಽ
䬺ᵈᗧ䬦䬵䬤䬓䫻
䬢䭛䭘䬽ᵈᗧ䭡ᕃ䭚䬷䫺ᯏེ䬽៊்䭓ṳ㔚᡿╬䭡↢
䬧䭚ᕟ䭛䬛䬑䭙䫺䭍䬮ᯏ⢻ᡰ㓚䬷䬹䭙䭍䬨䬽䬶චಽ
䬺ᵈᗧ䬦䬵䬤䬓䫻
EC
A
B
Component names
Maximum 354
AL. 1
POWER
15ppm Bilge Alarm
Esc Enter
AL. 2
A
MODEL FOCAS-2000
B
LCD display
Case cover
Snap latch
Display
Operating switch
Power lamp
(green)
Alarm2 lamp (red)
Alarm1 lamp (red)
sample water outlet
Screw-in type joint
(RC1/4 8)
(RC1/8 8)
(Sensor drain port)
Relay pipe
Upper lid
Solenoid
valve unit
Sensor unit
Drain
Sample water inlet
Filter
Main body
(10.514.5)
Screw-in type joint
(RC1/8 8)
Wiring ports
Fresh water inlet
Earth screw
Maximum 265
Display
Operation switch
Green lamp lights when applying current.
Red lamp blinks when oil alarm is activated or
the unit is defective.
Display
Operation switch
Screw-in type joint
Panel configuration

Table of Contents