EasyManua.ls Logo

Flomec RT40 - Page 17

Flomec RT40
40 pages
Print Icon
To Next Page IconTo Next Page
To Next Page IconTo Next Page
To Previous Page IconTo Previous Page
To Previous Page IconTo Previous Page
Loading...
17
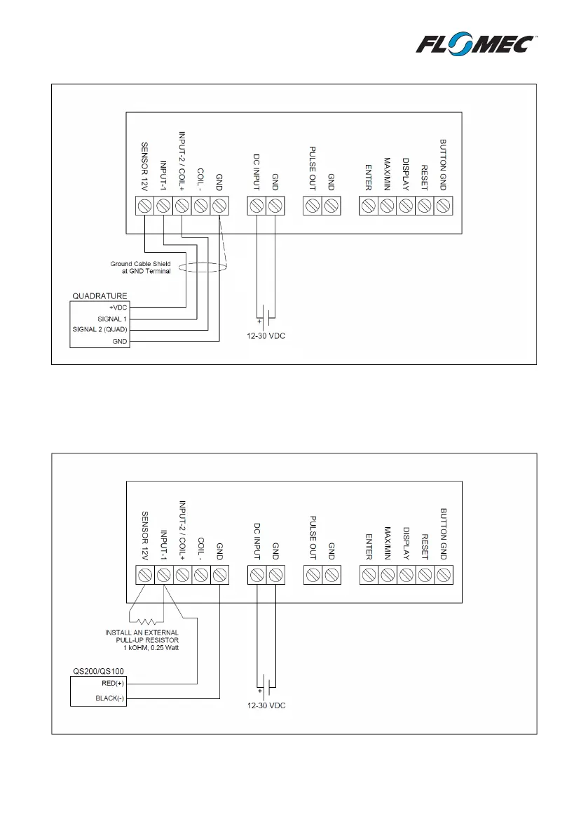
4.2.5 Quadrature Pulse Input (Hall)
Note: If negative flow is displayed during “forward flow” conditions, swap the wiring
connections for signal 1 and signal 2 (Quad).
4.2.6 QS200 / QS100 2 Wire Pulse

Related product manuals