EasyManua.ls Logo

Flowserve VTP - Page 32

Flowserve VTP
76 pages
Print Icon
To Next Page IconTo Next Page
To Next Page IconTo Next Page
To Previous Page IconTo Previous Page
To Previous Page IconTo Previous Page
Loading...
Page 32 of
7
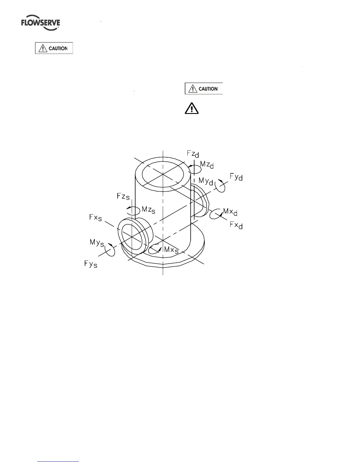
piping.
Ma
x
4.7.2
V
T
P
Maximum fo
flanges vary
minimize th
e
excessive, c
couplings, vi
casing. The
followed.
a) Prevent
VERTIC
7
6
Never us
e
x
imum force
s
P
pump flang
rces and mo
m
with the pu
m
e
se forces an
d
ause misalig
n
bration and
p
following poi
excessive e
x
A
L TURBIN
E
e
the pump a
s
s
and mome
n
es (See tabl
e
m
ents allowe
d
m
p size and t
y
d
moments t
h
n
ment, hot b
e
p
ossible failu
r
nts should b
e
x
ternal pipe l
o
SUCTIO
N
E
PUMPS
(
V
T
s
a support fo
n
ts allowed
o
e
4.6.2.1)
d
on the pum
y
pe. To
h
at may, if
e
arings, worn
r
e of the pum
p
e
strictly
o
ad.
N
T
PS
)
CENTR
I
r
o
n
p
p
b) N
e
p
u
c) D
o
d
u
fla
before
E
provid
e
of haz
a
IFUGAL PU
M
e
ver draw pip
u
mp flange c
o
o
not mount
e
u
e to internal
p
a
nge.
Ens
e
use.
E
nsure that t
h
e
d to flush th
e
a
rdous liquid
D
M
PS ENGLI
S
ing into plac
e
o
nnections.
e
xpansion joi
n
p
ressure, act
ure piping an
h
e piping arr
a
e pump befo
r
pumps.
D
ISCHAR
G
S
H 7156922
4
flows
e
e
by applying
n
ts so that th
e
s on the pum
d fittings are
a
ngement ha
s
r
e removal in
G
E
4
– 02-15
e
rve.com
force to
e
ir force,
m
p
flushed
s
been
cases

Related product manuals