EasyManua.ls Logo

Fostex FD-8 - Deleting a Program

Fostex FD-8
121 pages
Print Icon
To Next Page IconTo Next Page
To Next Page IconTo Next Page
To Previous Page IconTo Previous Page
To Previous Page IconTo Previous Page
Loading...
35
Handling Programs
PGM 01
PGM 02 PGM 03 PGM 04
PGM 05
PGM 06 PGM 07
PGM 01
PGM 02 PGM 03 PGM 04
PGM 05
PGM 06
After deleted
1
2
3, 4
SETUP
DRIVE
AUTO A.PUNCH
SYNC OUT
CLK
SCSI
44.1kHz
CLK
SYNC OUT DRIVE
SCSI
AUTO A.PUNCH
SETUP
PGM
44.1kHz
CLK
SYNC OUT DRIVE
SCSI
AUTO A.PUNCH
SETUP
PGM
44.1kHz
SURE ?
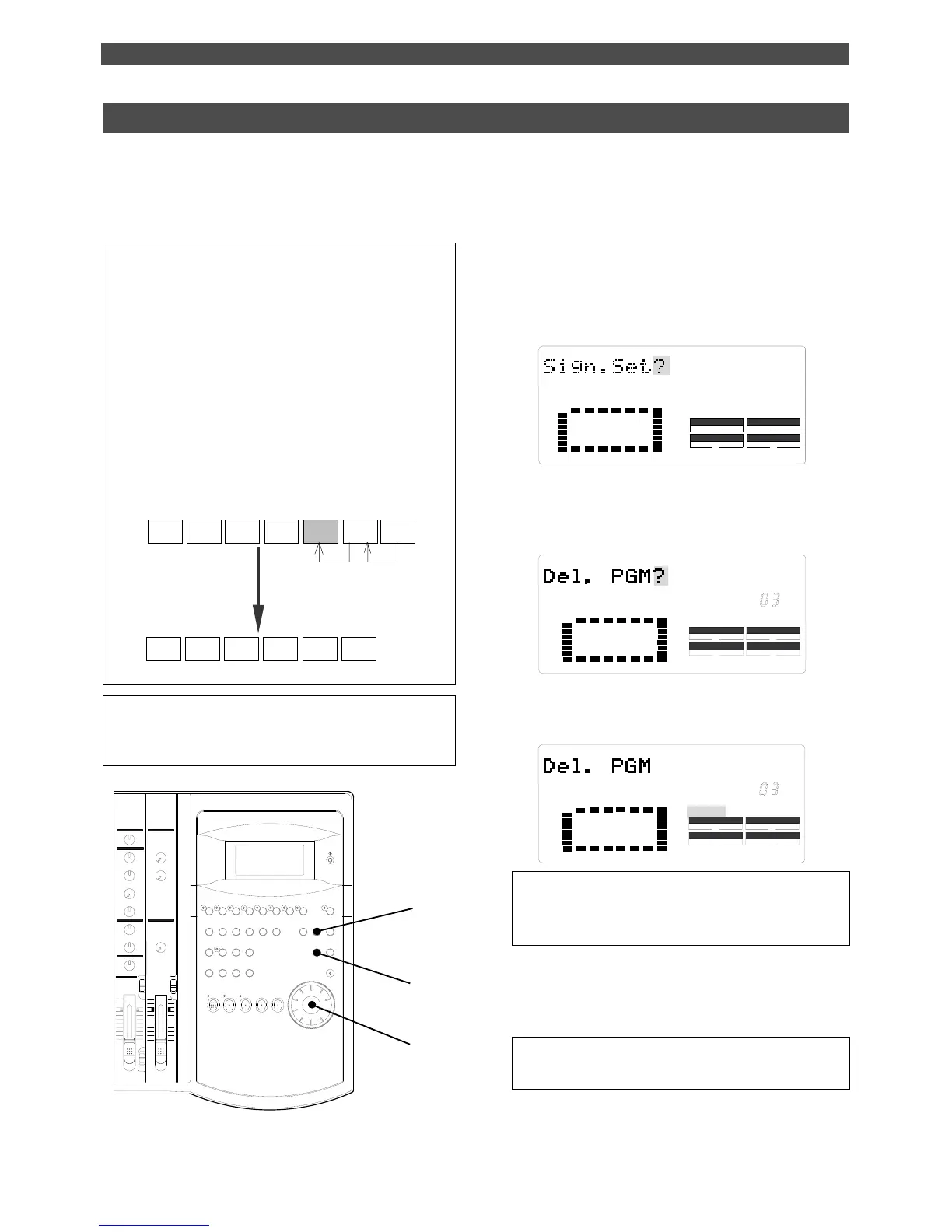
This section explains how to delete an unnecessary Program.
Deleting an unnecessary Program will expand the recordable area, making your work flow more smoothly, since
recording or editing requires sufficient recordable area (free space on the disk). Use the [Del. PGM ?] menu in
SETUP mode to delete a Program.
Deleting a Program
<Notes on deleting a Program>
• You can delete only the currently-selected Program. Refer to
the previous section, “Using a Program Change function,” for
information on how to select the desired Program before you
proceed to delete the Program.
• If only one Program exists and you try to delete it, data contained
in the Program will be deleted, but the Program itselfwill remain.
For example, assume that PGM 01 -07 exist and you try to delete
PGM 05. Program number 05 will remain, but the data inside PGM
05 will be replaced with the data of PGM 06.
The subsequent Programs’ data will move in the same way.
Therefore, it will appear that PGM 07 has been deleted.
If you delete the last Program (PGM 07 in this example), PGM
07 will be completely deleted.
If you try to deleted PGM 05, only the
data of PGM 05 will be deleted and
the data of PGM 06 will move into
PGM 05.
1. Press the SETUP key while the FD-8 is stopped.
The FD-8 enters SETUP mode, and displays the first
hierarchy of the SETUP menu that was displayed before
you turned off the power.
The default setting is [Sign. Set ?] menu (setting a time
signature).
2. Turn the JOG dial to select the first hierarchy of the
[Del. PGM ?] (deleting a Program) menu.
Alternatively, you can use the HOLD/> key, the REWIND
button, or the F FWD button.
3. Press the EXECUTE/YES key.
The number of the Program to be deleted appears and
[SURE ?] flashes.
To cancel the delete operation, press the EXIT/NO key while
[SURE ?] is flashing. Each time you press the button or key, the
FD-8 will return to a higher level in the hierarchy, and finally exit
SETUP mode.
4. Press the EXECUTE/YES key again.
When the FD-8 displays [Deleting...] and finishes
deleting the Program, the data of the next Program
number moves in, and its ABS time appears.
Note:
You cannot use the Undo/Redo function to delete
Programs. Make sure that you delete the correct
Program.
• To check the REMAIN time and free space, press the DISP SEL
key to display the [REMAIN] indication after the Program is deleted.

Table of Contents

Other manuals for Fostex FD-8

Related product manuals