EasyManua.ls Logo

Frymaster BIH52 Series - Electronics; Computers, Controllers and Associated Components

Frymaster BIH52 Series
115 pages
Print Icon
To Next Page IconTo Next Page
To Next Page IconTo Next Page
To Previous Page IconTo Previous Page
To Previous Page IconTo Previous Page
Loading...
4-25
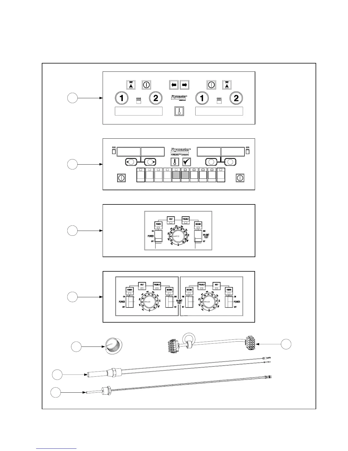
4.4 Electronics
4.4.1 Computers, Controllers and Associated Components
1
3
4
5
2
1 1 2
JC
ABC DEF GHI JKL MNO PQR STU VWX
YZ
-
*
-
1234567890
2
6
7
8
Discontinued M100B
Computer. Replaced
by M2000 computer.

Table of Contents

Related product manuals