EasyManua.ls Logo

GE 469 - Page 174

GE 469
336 pages
Print Icon
To Next Page IconTo Next Page
To Next Page IconTo Next Page
To Previous Page IconTo Previous Page
To Previous Page IconTo Previous Page
Loading...
5–32 469 MOTOR MANAGEMENT RELAY – INSTRUCTION MANUAL
CHAPTER 5: SETTINGS
General Switch A to D
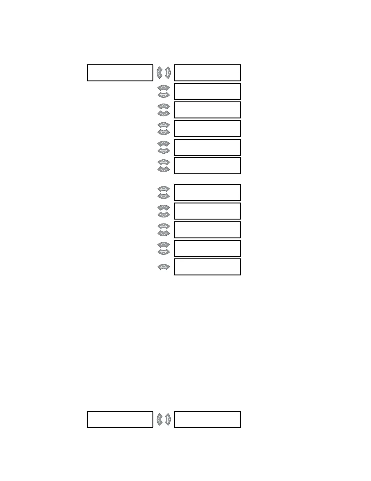
PATH: SETTINGS ZV S3 DIGITAL INPUTS ZV ASSIGNABLE INPUT 1(4)
These settings apply only if the INPUT 1(4) FUNCTION is “General Switch A”. Similar messages
appear for General Switches B, C, and D.
There are four general switch functions assignable to the four digital inputs. Once a
general switch function is chosen for one of the digital inputs, the settings messages
shown here follow the assignment message. An alarm and/or trip may then be configured
for that input. The alarm and/or trip may be assigned a common name and a common
block time from motor start if required (if the alarm is to be disabled until some period of
time after he motor has been started). A value of “0” for the
BLOCK TIME settings indicates
that the feature is always active, when the motor is stopped or running. The switch may
also be defined as normally open or normally closed. After the block delay has expired, the
digital input will be monitored. If the switch is not in its normal state after the specified
delay, an alarm or trip will occur.
Capture Trace
PATH: SETTINGS ZV S3 DIGITAL INPUTS ZV ASSIGNABLE INPUT 1(4)
ASSIGNABLE [
INPUT 1 FUNCTION:
General Sw. A
Range: See above
MESSAGE
SWITCH NAME:
General Sw. A
Range: 12 alphanumeric characters
MESSAGE
GENERAL SWITCH A:
Normally Open
Range: Normally Open,
Normally Closed.
MESSAGE
BLOCK INPUT
FROM START: 0 s
Range: 0 to 5000 s in steps of 1
MESSAGE
GENERAL SWITCH A
ALARM: Off
Range: Off, Latched, Unlatched
MESSAGE
ASSIGN ALARM
RELAYS:
Range: Alarm, Alarm & Auxiliary2,
Alarm & Aux2 & Aux3, Alarm &
Auxiliary3, Auxiliary2, Aux2 &
Aux3, Auxiliary3
MESSAGE
GENERAL SWITCH A
ALARM DELAY: 5.0
Range: 0.1 to 5000.0 s in steps of 0.1
MESSAGE
GENERAL SWITCH A
EVENTS: Off
Range: On, Off
MESSAGE
GENERAL SWITCH A
TRIP: Off
Range: Off, Latched, Unlatched
MESSAGE
ASSIGN TRIP
RELAYS:
Range: Trip, Trip & Auxiliary2, Trip &
Aux2 & Aux3, Trip & Auxiliary3
MESSAGE
GENERAL SWITCH A
TRIP DELAY: 5.0 s
Range: 0.1 to 5000.0 s in steps of 0.1
ASSIGNABLE [
INPUT 1 FUNCTION:
Capture Trace
Range: See above.

Table of Contents

Other manuals for GE 469

Related product manuals