EasyManua.ls Logo

Geist RCX - Full Length Brackets

Geist RCX
82 pages
Print Icon
To Next Page IconTo Next Page
To Next Page IconTo Next Page
To Previous Page IconTo Previous Page
To Previous Page IconTo Previous Page
Loading...
R-Series v5 Instruction Manual20
© 2018 Geist
GM1196 R-Series v5 Instruction Manual
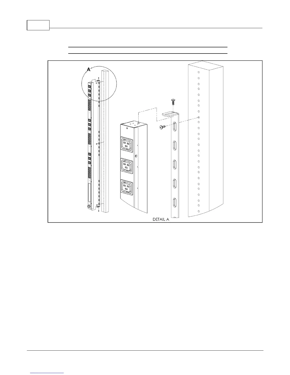
Full Length Brackets
Figure 2-1 Full Length Bracket

Table of Contents

Related product manuals