EasyManua.ls Logo

GENEVO PRiMA 6 - 1 LED Indicator Connection; 2 Connection of Devices with Common- Triggered Inputs

Default Icon
77 pages
Print Icon
To Next Page IconTo Next Page
To Next Page IconTo Next Page
To Previous Page IconTo Previous Page
To Previous Page IconTo Previous Page
Loading...
load current may lead to permanent damage to the
control panel main-board.
Examples of PGM3...PGM6 connections.
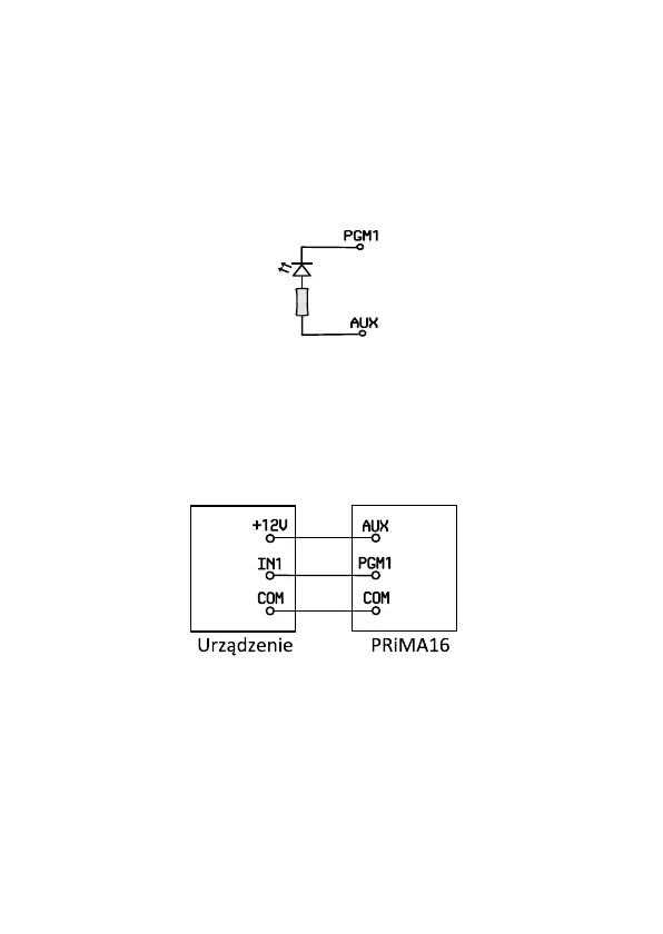
7.3.5.1 LED indicator connection.
7.3.5.2 Connection of devices with Common-trig-
gered inputs
used e.g. to connect universal transmitters
Figure 14: Connection of LED indicator to PGM output
Figure 15: Connection of device with Common triggered
input

Table of Contents