EasyManua.ls Logo

Gestetner 5308L - Clearing Misfeeds

Default Icon
162 pages
Print Icon
To Next Page IconTo Next Page
To Next Page IconTo Next Page
To Previous Page IconTo Previous Page
To Previous Page IconTo Previous Page
Loading...
What to do If Something Goes Wrong
84
5
x Clearing Misfeeds
Important
When clearing misfeeds, do not turn off the main switch. If you do, your print
settings are cleared.
-
--
-
After clearing misfeeds
Press the
{
Clear Modes/Energy Saver
}
key to reset the error indicators.
x
xx
x
” + “ORIGINAL JAM. REMOVE ORIGINAL”
Note
These indicators will light when your machine is equipped with the optional
document feeder.
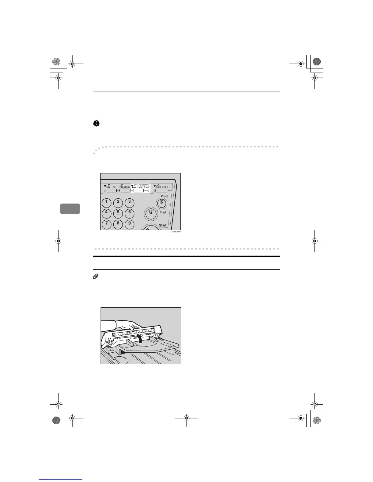
A
Press the ADF unit open lever and open the ADF unit.
TSLP016E
SilverV-EN.book Page 84 Monday, May 15, 2000 3:23 PM

Table of Contents

Related product manuals