EasyManua.ls Logo

Giropes Baxtran ABS - Page 42

Giropes Baxtran ABS
Print Icon
To Next Page IconTo Next Page
To Next Page IconTo Next Page
To Previous Page IconTo Previous Page
To Previous Page IconTo Previous Page
Loading...
FRMANUAL D’USAGER ABS
42
4. INSTALLATION
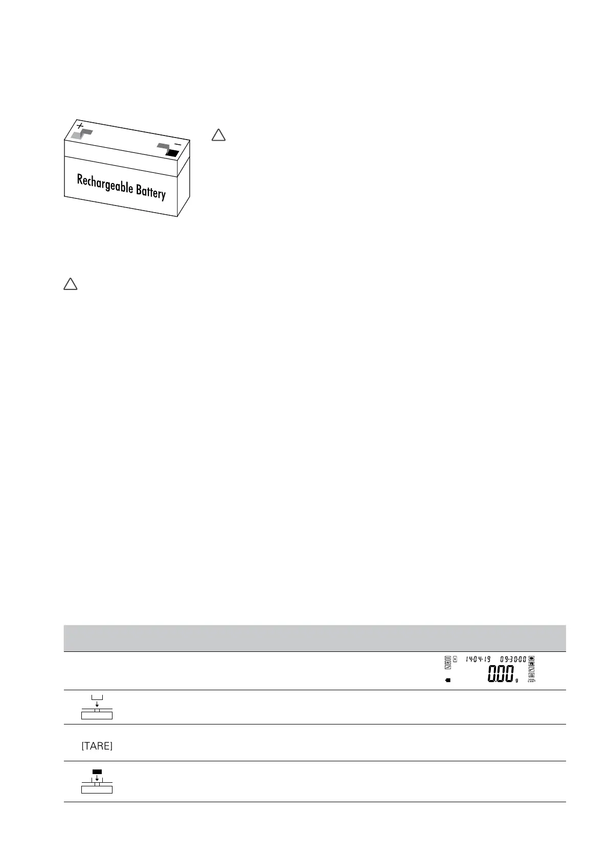
BATTERIE RECHARGEABLE
!
Seulement disponible pour utilisation d’un adaptateur pour recharger la batterie rechargeable
pour l’appareil.
Coucher l’appareil sur le côté.
Ouvrir le couvercle de la batterie.
Connectez-vous et mettre la batterie rechargeable dans la boîte.
Confirmer le plus et le moins sont correctement placés.
Fermer le boîtier de la batterie : visser le couvercle du boîtier de la batterie sur l’appareil.
!
La batterie utilisée est recyclée. Conformément aux lois sur l’élimination des déchets, la batterie rechargeable doit être déposée un bac
de recyclage spécifique et manipulée avec soin.
AJUSTER LE NIVEAU DE L’APPAREIL
Le niveau de l’appareil doit être ajusté chaque fois que le lieu d’installation est changé. Déplacer les quatre pieds lentement pour ajuster le niveau.
Tourner les pieds jusqu’à ce que la bulle soit au milieu du niveau.
5. FONCTIONNEMENT DE BASE
5.1 PRÉPARATION DE LA FONCTION DE PESÉE DE BASE
PRÉPARATION
Allumer l’appareil : Appuyer sur la touche (ON/OFF)
DURÉE DE PRÉCHAUFFAGE :
Pour garantir un résultat de pesée correct, un type d’appareil différent requiert une durée de préchauffage différente pour atteindre la tempéra-
ture de fonctionnement requise. Veuillez vous référer à la liste des spécifications pour connaître la durée de préchauffage adaptée.
CAS
TOUCHE
(COMMANDE)
EXPLICATION D’ÉTAPE AFFICHAGE ÉCRAN LCD
1. Zero Stable
2. Positionnement du récipient sur le plateau de pesée (Cas :100g)
100.00 g
3. Appuyer sur la touche Tare pour tarer le poids du récipient
0.00 g
4. Positionnement d’un échantillon dans le récipient (Cas: 200g)
200.00 g

Table of Contents

Related product manuals