EasyManua.ls Logo

Giropes Baxtran ABS - 4 Instalación; 5 Operaciones Básicas; Preparación de la Función de Pesar Básica

Giropes Baxtran ABS
Print Icon
To Next Page IconTo Next Page
To Next Page IconTo Next Page
To Previous Page IconTo Previous Page
To Previous Page IconTo Previous Page
Loading...
ESMANUAL USUARIO ABS
8
4. INSTALACIÓN
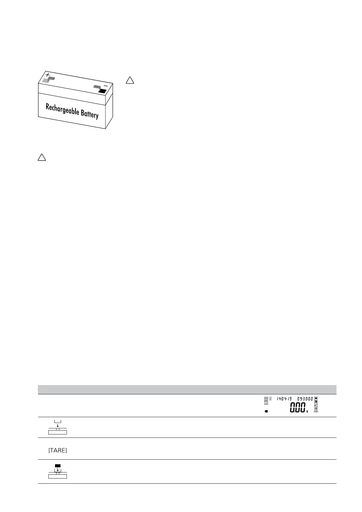
BATERÍA RECARGABLE
!
Sólo disponible para utilizar adaptador para recargar la batería recargable del aparato.
Tumbe la balanza de lado
Abra la cubierta de la caja de la batería
Conecte y sitúe la batería recargable en la caja
Sitúe la parte positiva y la negativa correctamente.
Cierre la caja de la batería: atornille la cubierta de la caja de la batería a la balanza
!
La batería que se utiliza es reciclable. Según las leyes de eliminación de desechos, la batería recargable utilizada debe depositarse, una
vez gastada, en un reciclaje de basura y de manejo especializado.
AJUSTAR EL NIVEL DE LA BALANZA
La balanza debe ser nivelada siempre que se cambie su lugar de instalación. Para realizar esta operación el usuario debe mover los cuatro pies
con cuidado y lentamente.
Girar el pie hasta que la burbuja se encuentre en el punto medio del aparato de nivelar.
5. OPERACIONES BÁSICAS
5.1 PREPARACIÓN DE LA FUNCIÓN DE PESAR BÁSICA
PREPARACIÓN
Encienda la balanza: presione la tecla ( ON/OFF)
TIEMPO DE CALENTAMIENTO:
Para asegurarse que el resultado de la pesada es el correcto debe tener en cuenta que diferentes balanzas necesitan diferentes tiempos de
calentamiento para alcanzar la temperatura de operación correcta. Por favor, consulte la liste de especificación para conocer el tiempo de
calentamiento necesario.
EJEMPLOS
TECLA (ORDEN) PASOS A SEGUIR VISUALIZACIÓN EN PANTALLA LCD
1. Cero estable
2. Situar el contenedor sobre la bandeja de pesa ( ejemplo: 100g)
100.00 g
3. Presione la tecla Tara para tarar el peso del contenedor
0.00 g
4. Sitúe la muestra en el contenedor (Ejemplo: 200g)
200.00 g

Table of Contents

Related product manuals