EasyManua.ls Logo

Graco G3 - Mounting Pattern

Graco G3
42 pages
Print Icon
To Next Page IconTo Next Page
To Next Page IconTo Next Page
To Previous Page IconTo Previous Page
To Previous Page IconTo Previous Page
Loading...
Parts
38 332291P
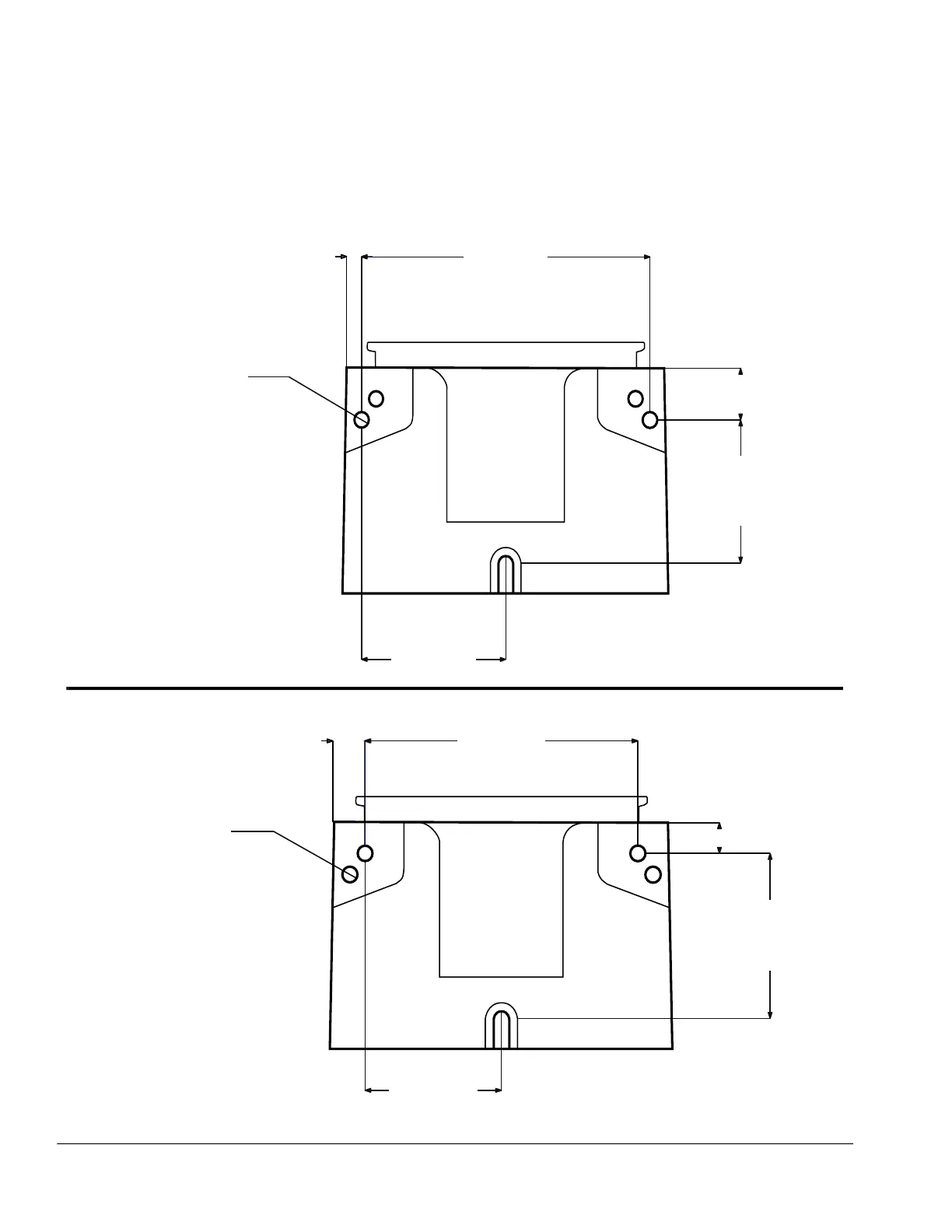
Mounting Pattern
(For correct mounting configuration, choose either Option 1 or Option 2). See P/N 126916 template.
FIG. 31
0.367inch
9.3 mm
2x Ø 0.366 inch
9.3 mm
3.544 inch
90.0 mm
7.087 inch
180.0 mm
1.180 inch
30.0 mm
3.268 inch
83.0 mm
0.722 inch
18.3 mm
2x Ø 0.366 inch
9.3 mm
3.189 inch
81.0 mm
6.378 inch
162.0 mm
3.740 inch
95.0 mm
0.708 inch
18.0 mm
Option 1
Option 2

Related product manuals