EasyManua.ls Logo

GRAPHTEC CE5000-120AP - 4.2 Clearing the Buffer Memory

GRAPHTEC CE5000-120AP
146 pages
Print Icon
To Next Page IconTo Next Page
To Next Page IconTo Next Page
To Previous Page IconTo Previous Page
To Previous Page IconTo Previous Page
Loading...
CE5000-UM-251-9370 6-12
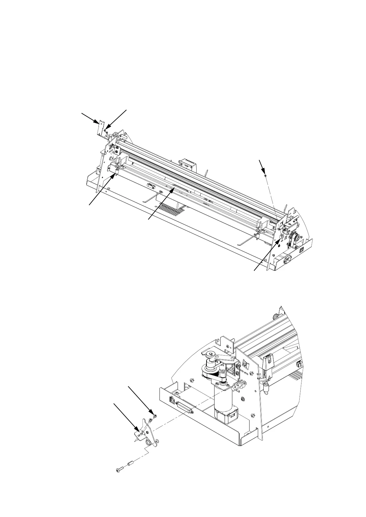
6 DISASSEMBLY AND REASSEMBLY
6.2.3 How to Replace the Push Roller Arm
How to detach the push roller arm
(1) Detach the right and left side covers (see Subsection 6.1.1 and Subsection 6.1.2).
(2) Detach the center cover (see Subsection 6.1.3 or 6.1.4).
(3) Setthecamlevertothemediareleaseposition.
(4) Remove the two M3L6 binding head screws attaching the cam lever.
Cam lever
Push roller arm spring
Cam shaft
Left cam shaft holder
M3L6 binding head screw
M3L6 binding head screw
(5) Remove the M3L6 binding head screw attaching the left side cam shaft holder.
(6) RemovethetwoM3L6bindingheadscrewsattachingthecamsensorplatetothecamshaft.
Cam sensor plate
M3L6 binding head screw

Table of Contents

Other manuals for GRAPHTEC CE5000-120AP

Related product manuals