EasyManua.ls Logo

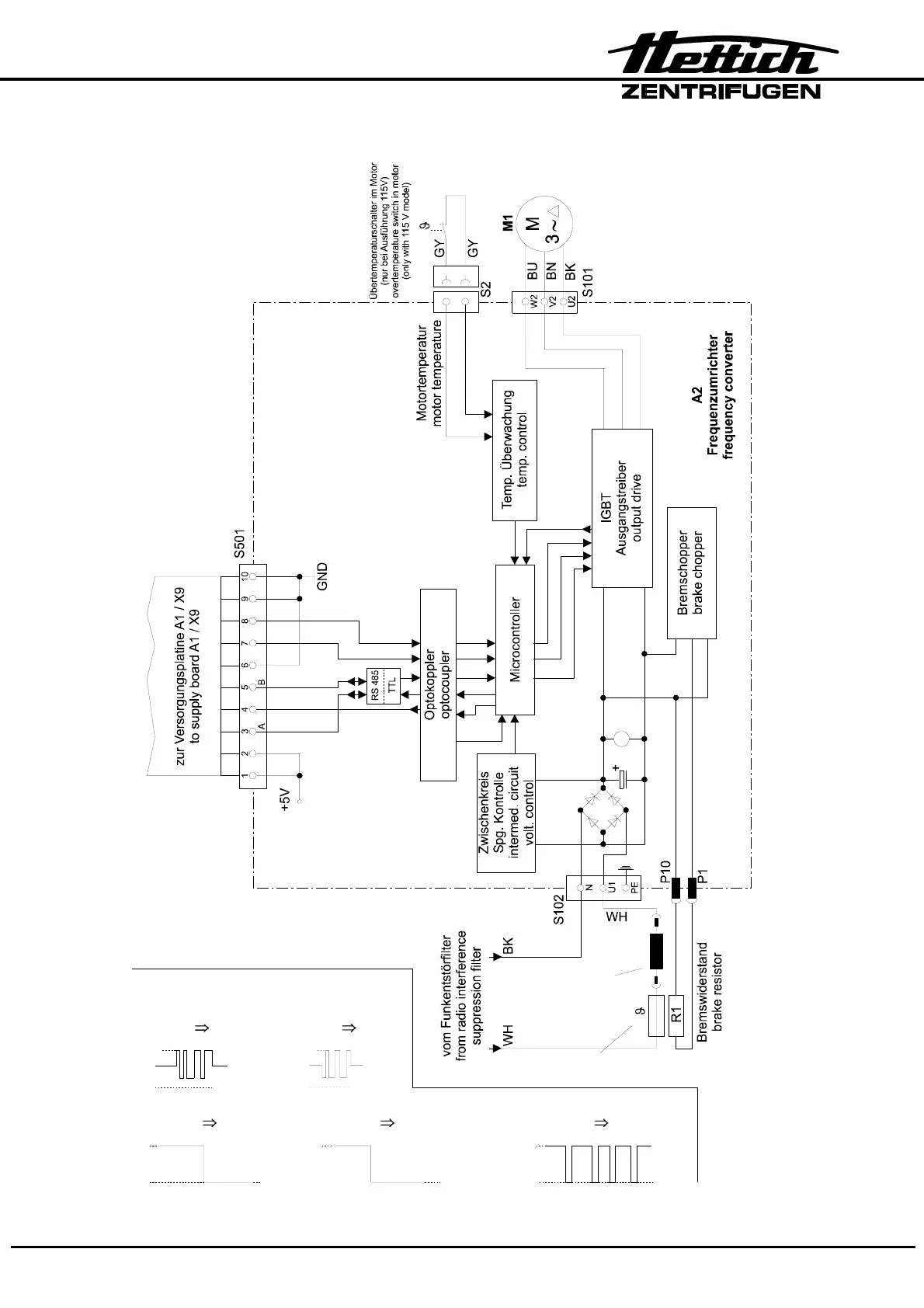
Hettich UNIVERSAL 32 - Blockdiagram Frequency converter (FC) and signals in control cable between FC and SB

Hettich UNIVERSAL 32
49 pages
Print Icon
To Next Page IconTo Next Page
To Next Page IconTo Next Page
To Previous Page IconTo Previous Page
To Previous Page IconTo Previous Page
Loading...
45/49
13.7. Blockdiagram Frequency converter (FC) and signals in control cable
between FC and SB
U
U
DC
+5V
GND
Pin 3 = A GND
+5V
GND
Pin 5 = B GND
+5V
GND
FC- Fehler
FC- ERROR
kein Fehler
no ERROR
Pin 4 GND
+5V
GND
Deckel zu
Lid closed
Deckel offen
Lid open
Pin 7 GND
FC Hardware Stop
+8V ... +15V
GND
Tachosignal / tacho signal
Pin 8 GND
Signale an S501:
signals at S501:
Übertemperatursicherung F3 für R1
overtemperature fuse F3 for R1
F3
>
>
1 2
Netzdrossel L1
mains choke coil L1
L1

Table of Contents

Related product manuals