EasyManua.ls Logo

Hitachi J300 Series

Hitachi J300 Series
145 pages
To Next Page IconTo Next Page
To Next Page IconTo Next Page
To Previous Page IconTo Previous Page
To Previous Page IconTo Previous Page
Loading...
7-16
Contents and display
Extension
function
code
1
2
FUNC
Speed
control
response
constant
setting
FUNC
.
.
.
1
2
.
.
1
2
Initial value
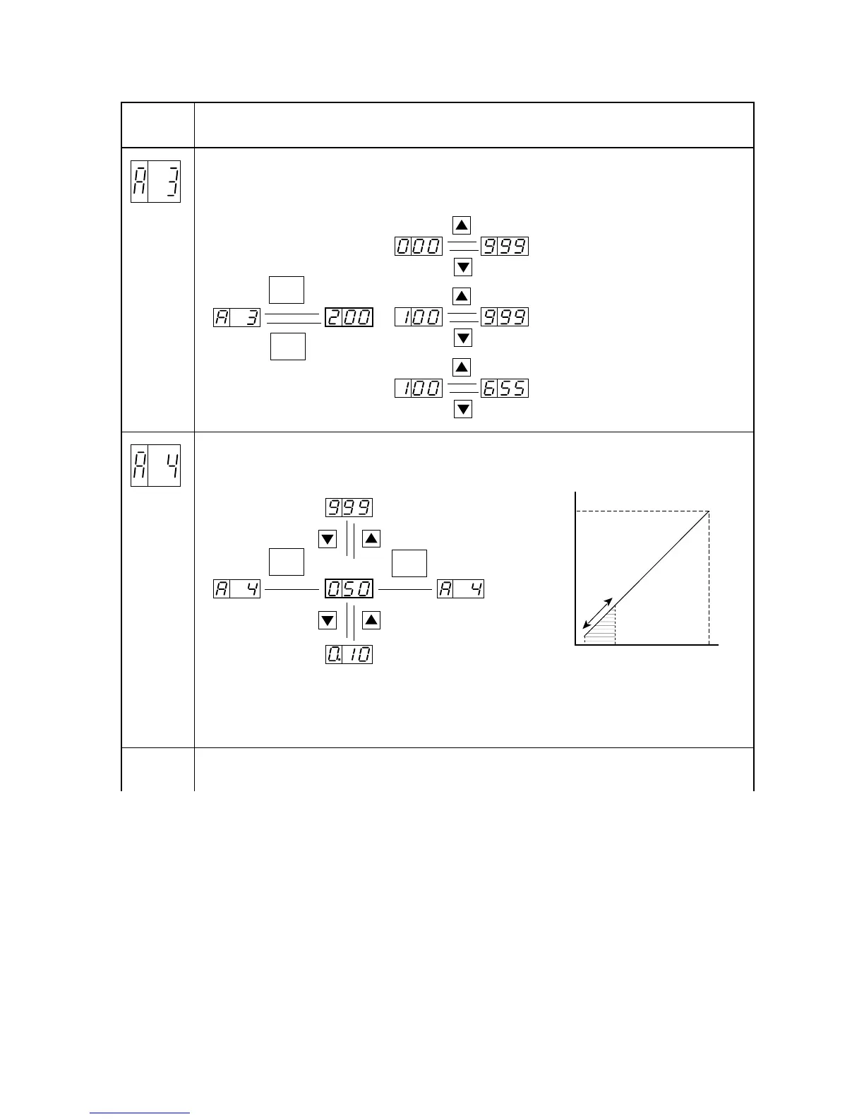
Set the response speed (ASR system gain) between the inverter and motor. When increasing
or decreasing the current motor response speed, adjust the ASR system gain. When the set value is
decreased, the response speed is increased. When the set value is increased, the response speed is
decreased.
A constant between 0.01
and 9.99 is set in units of 0.01.
A constant between 10.0
and 99.9 is set in units of 0.1.
A constant between 100
and 655 is set in units of 1.
Start
frequency
adjustment
Set the frequency for starting output of the inverter.
Set a frequency between 0.1 Hz and 9.99 Hz in units of 0.01 Hz.
2
1
1
2
FUNC
FUNC
.
.
,
,
.
V
f
0
0.10 9.99
Initial value
Output voltage
Maximum
frequency
Adjustment
range
When the start frequency is increased,
the acceleration or deceleration time is
decreased.
CTi Automation - Phone: 800.894.0412 - Fax: 208.368.0415 - Web: www.ctiautomation.net - Email: info@ctiautomation.net

Table of Contents

Other manuals for Hitachi J300 Series

Related product manuals