EasyManua.ls Logo

Hitachi MULTIZONE RAM-53NE3F - 8.1 Multizone Indoor Unit Refrigerant Cycle

Hitachi MULTIZONE RAM-53NE3F
102 pages
Print Icon
To Next Page IconTo Next Page
To Next Page IconTo Next Page
To Previous Page IconTo Previous Page
To Previous Page IconTo Previous Page
Loading...
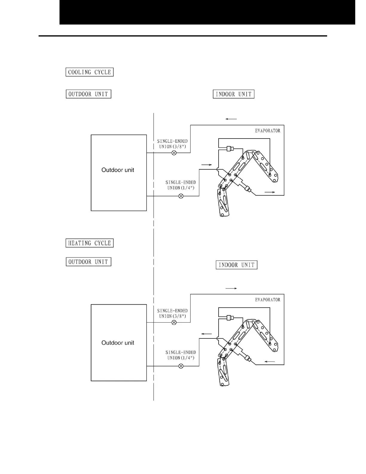
REFRIGERANT CYCLE
8-2
8.1. MULTIZONE INDOOR UNITS
8.1.1. WALL TYPE: RAK-15QEF, RAK-18REF, RAK-25REF, RAK-35REF

Table of Contents