EasyManua.ls Logo

Hitachi MULTIZONE RAM-53NE3F - Wall Type: Rak-50 Ref

Hitachi MULTIZONE RAM-53NE3F
102 pages
Print Icon
To Next Page IconTo Next Page
To Next Page IconTo Next Page
To Previous Page IconTo Previous Page
To Previous Page IconTo Previous Page
Loading...
REFRIGERANT CYCLE
CYC
8-3
L
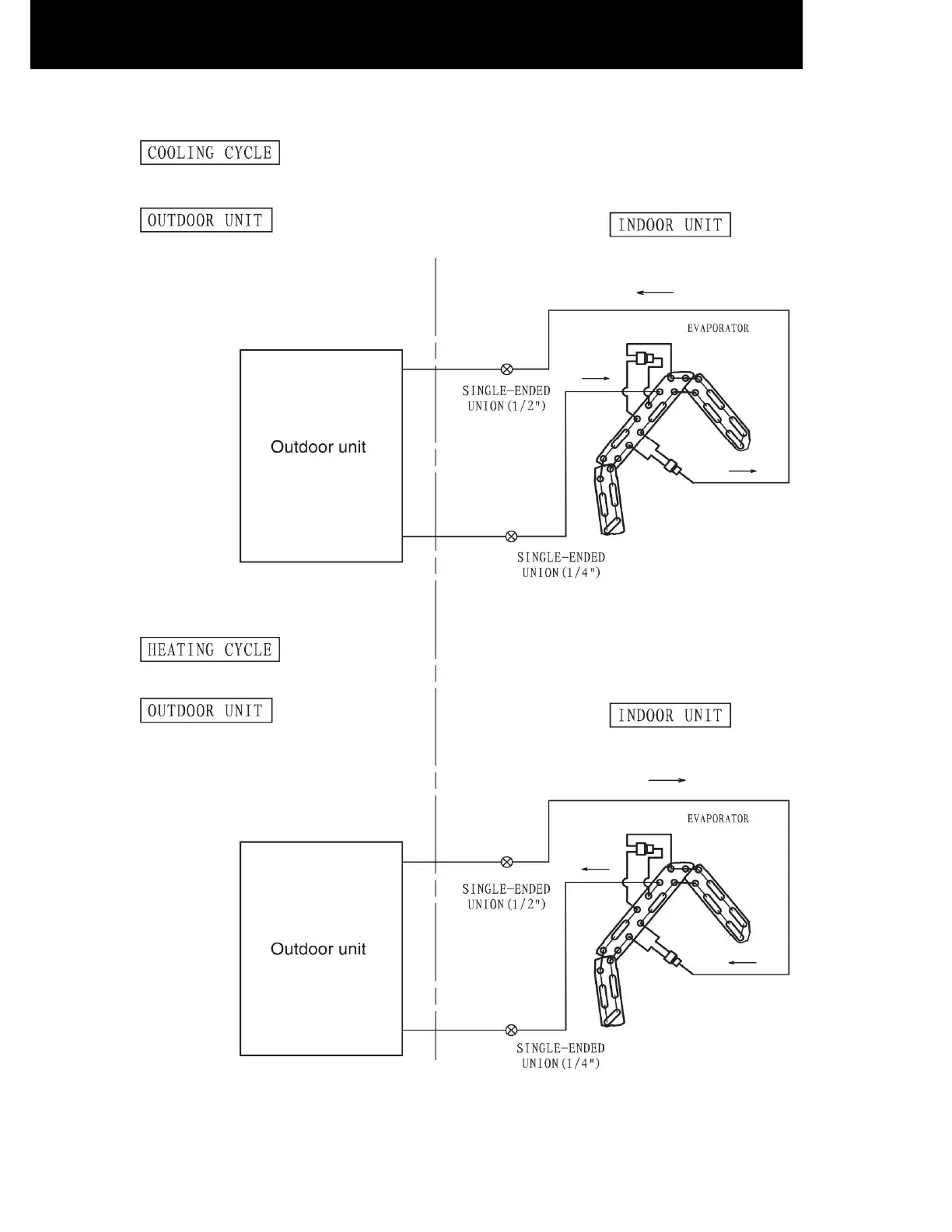
8.1.2. WALL TYPE: RAK-50REF

Table of Contents