EasyManua.ls Logo

Hitachi PRIMAIDE 1440 - Page 155

Hitachi PRIMAIDE 1440
204 pages
Print Icon
To Next Page IconTo Next Page
To Next Page IconTo Next Page
To Previous Page IconTo Previous Page
To Previous Page IconTo Previous Page
Loading...
5 - 7
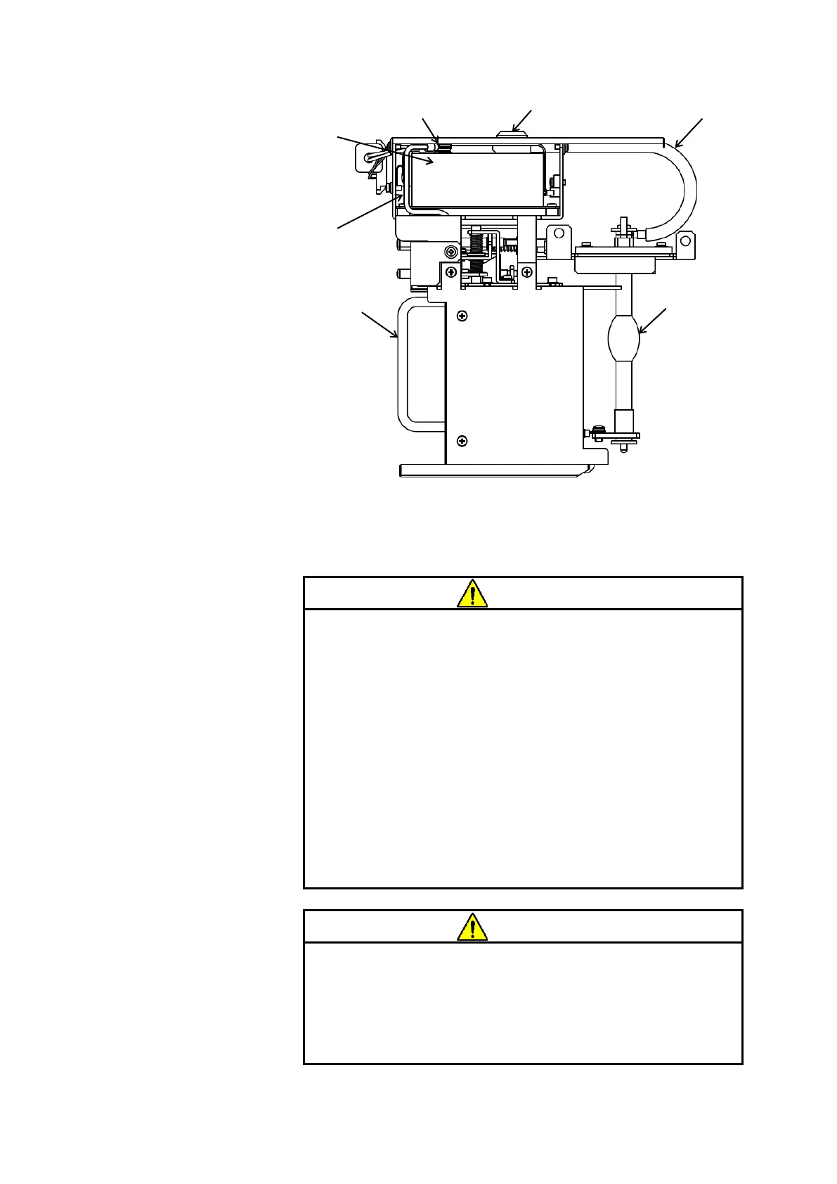
Fig. 5-4 Lamp House after Removal
(f) Removal of old xenon lamp
WARNING
Injury due to Xenon Lamp Explosion (at disposal)
The xenon lamp is filled with high-pressure gas (approx.
1 MPa at room temperature, approx. 4 MPa under
operating condition), and this high-pressure gas still
remains in the xenon lamp after it is demounted for
replacement.
For disposal of the used xenon lamp, wrap it with a thick
cloth (e.g., triple-folded cotton cloth) completely and crush
its glass part with a hammer or the like. Then, discard the
xenon lamp as a dangerous waste item properly.
If the xenon lamp is discarded without being crushed, it
could explode due to possible impact at the time of
disposal, scattering glass pieces to cause personal injury.
WARNING
Injury due to Xenon Lamp Explosion (at mounting)
When loosening or tightening the retaining nut for the
xenon lamp, be careful not to apply excessive force to its
glass bulb part. Never hold and turn the glass bulb part
for loosening/tightening.
Lamp igniter
+HV
COM
Cathode cable
Anode cable
Grip
Xenon lamp

Table of Contents