EasyManua.ls Logo

Hyster F007 - Page 8

Hyster F007
48 pages
Print Icon
To Next Page IconTo Next Page
To Next Page IconTo Next Page
To Previous Page IconTo Previous Page
To Previous Page IconTo Previous Page
Loading...
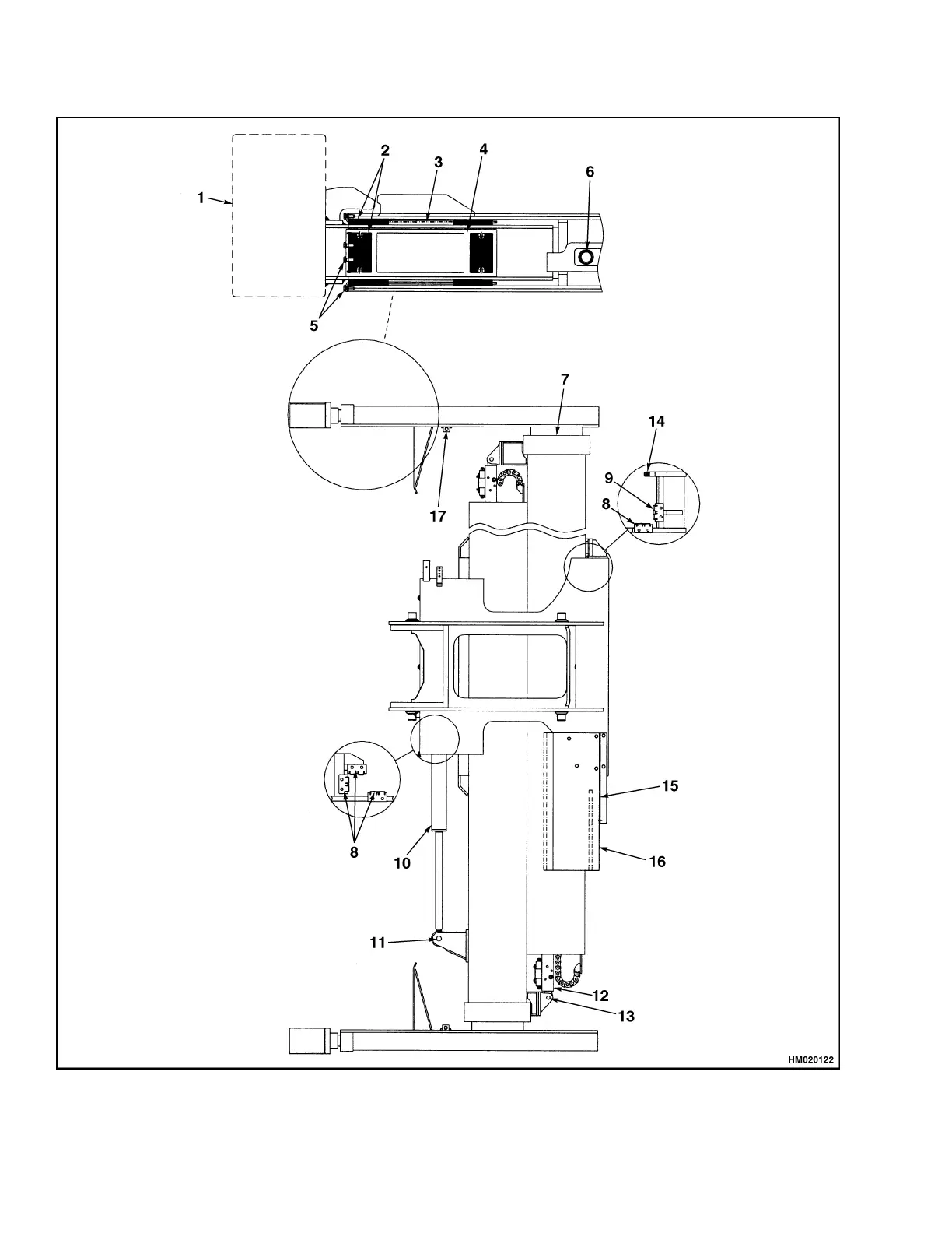
Operation 5000 SRM 969
Figure 1. Empty Container Attachment
2

Related product manuals