EasyManua.ls Logo

IBASE Technology IB895 - CN1, CN3: SATA Connector; CN2: LCD Backlight Connector; J1: Board Input Power Connector; J2, J3: SATA HDD Power Connector

IBASE Technology IB895
60 pages
Print Icon
To Next Page IconTo Next Page
To Next Page IconTo Next Page
To Previous Page IconTo Previous Page
To Previous Page IconTo Previous Page
Loading...
INSTALLATIONS
14
IB895 User’s Manual
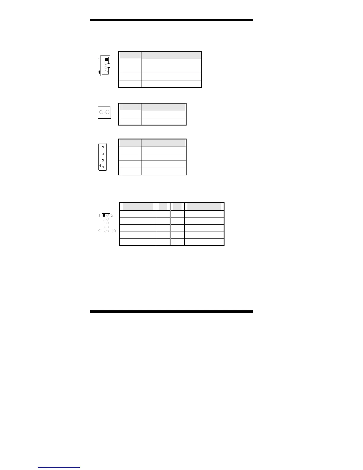
CN1, CN3: SATA Connectors
CN2: LCD Backlight Connector
Pin # Signal Name
1 Backlight Power
2 Backlight Enable
3 Brightness Control
4 Ground
J1: Board Input Power Connector
Pin # Signal Name
1 +12V to +24V
1
2 GND
J2, J3: SATA HDD Power Connector
Pin # Signal Name
1 +5V
2 Ground
3 Ground
4 +12V
J4: Debug 80 Port Connector (factory use only)
J5: Digital I/O Connector
Signal Name Pin Pin Signal Name
GND 1 2 VCC
OUT3 3 4 OUT1
OUT2 5 6 OUT0
IN3 7 8 IN1
IN2 9 10 IN0
J6: SPI Flash Connector (factory use only)

Table of Contents

Related product manuals