EasyManua.ls Logo

IBM ThinkPad R50e Series - 1150 LCD Assembly

IBM ThinkPad R50e Series
149 pages
To Next Page IconTo Next Page
To Next Page IconTo Next Page
To Previous Page IconTo Previous Page
To Previous Page IconTo Previous Page
Loading...
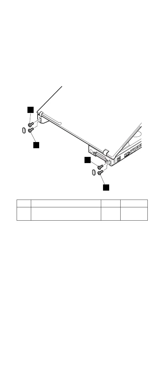
1150
LCD
assembly
For
access,
remove
these
FRUs
in
order:
v
“1010
Battery
pack”
on
page
65
v
“1040
Keyboard”
on
page
69
v
“1050
Ultrabay
device”
on
page
73
v
“1070
Modem
daughter
card
(MDC-2)”
on
page
75
v
“1080
Keyboard
bezel”
on
page
77
v
“1140
Ultrabay
Enhanced
shield
kit”
on
page
89
1
1
1
1
Step
Screw
(quantity)
Color
Torque
1
M2.5
×
4.8
mm,
bind-head,
nylon-coated
(4)
Black
0.392
Nm
(4
kgfcm)
(continued)
Removing
and
replacing
a
FRU
ThinkPad
R50e
Series
95

Table of Contents

Related product manuals