EasyManua.ls Logo

Immergas nike star 24 3 E - Hydraulic Schematic and Components; Hydraulic System Diagram

Immergas nike star 24 3 E
34 pages
Print Icon
To Next Page IconTo Next Page
To Next Page IconTo Next Page
To Previous Page IconTo Previous Page
To Previous Page IconTo Previous Page
Loading...
83
RO SKIE
3-1
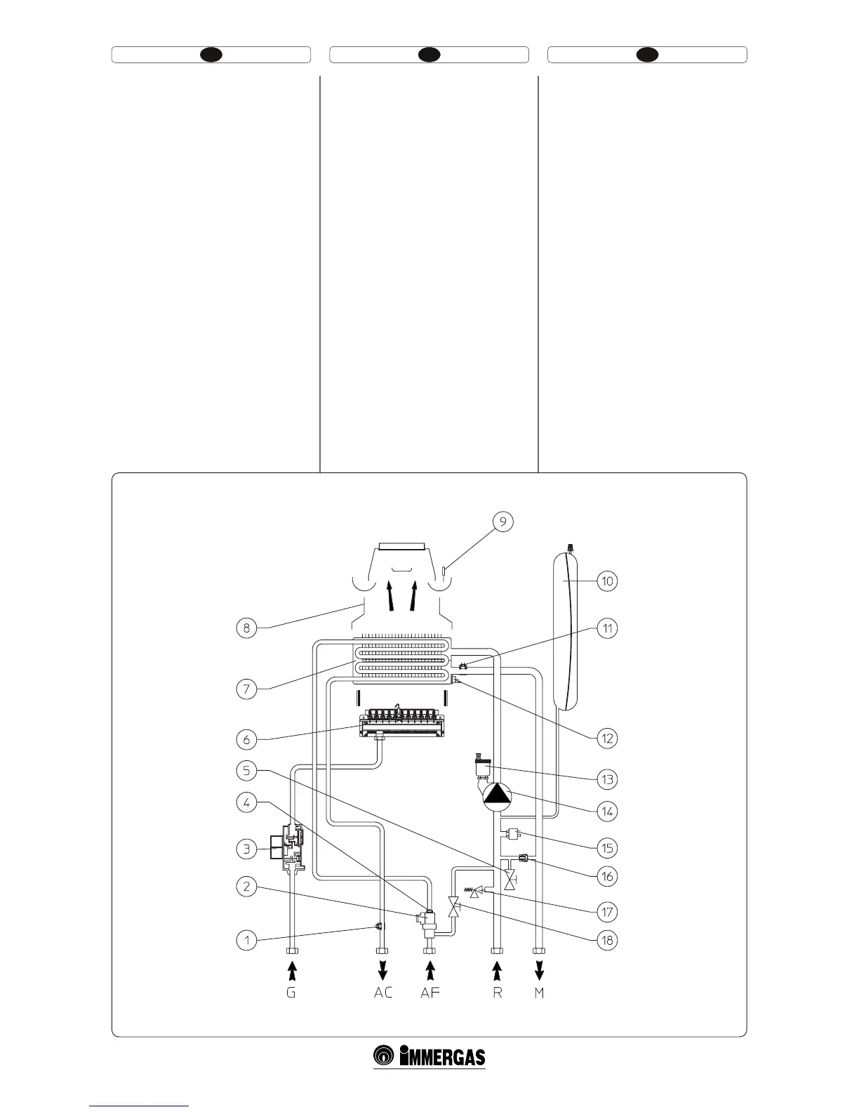
3.1 SCHEMA HIDRAULICĂ. 3.1 HYDRAULIC LAYOUT. 3.1 HYDRAULICKÁ SCHÉMA.
Legenda (Fig. 3-1):
1 - Sondă menajer
2 - Fluxostat menajer
3 - Supapă gaz
4 - Limitator de ux
5 - Robinet golire instalaţie
6 - Arzător
7 - Schimbător de tip rapid
8 - Hotă fumuri
9 - Termostat gaze arse
10 - Vas expansiune instalaţie
11 - Sondă tur
12 - Termostat siguranţă
13 - Supapă evacuare aer
14 - Circulator centrală
15 - Presostat instalaţie
16 - By-pass automat
17 - Supapă de siguranţă 3 bar
18 - Robinet alimentare instalaţie
G - Alimentare gaz
AC - Ieşire apă caldă menajeră
AF - Intrare apă menajeră
R - Retur instalaţie
M - Tur instalaţie
Key (Fig. 3-1):
1 - Domestic hot water probe
2 - Domestic hot water ow switch
3 - Gas valve
4 - Flow limiter
5 - System draining valve
6 - Burner
7 - Rapid heat exchanger
8 - Fumes hood
9 - Flue safety thermostat
10 - System expansion vessel
11 - Delivery probe
12 - Safety thermostat
13 - Vent valve
14 - Boiler pump
15 - System pressure switch
16 - Adjustable by-pass
17 - 3 bar safety valve
18 - System lling valve
G - Gas supply
AC - Domestic hot water outlet
AF - Domestic cold water inlet
R - System return
M - System delivery
Legenda (Obr. 3-1):
1 - Úžitková sonda
2 - Prietokomer úžitkovej vody
3 - Plynový ventil
4 - Obmedzovač prietoku
5 - Výpustný kohút zariadenia
6 - Horák
7 - Výmenník rýchleho typu
8 - Digestor
9 - Termostat spalín
10 - Expanzná nádoba zariadenia
11 - Sonda výtlaku
12 - Bezpečnostný termostat
13 - Odvzdušňovací ventil
14 - Obehové čerpadlo kotla
15 - Presostat zariadenia
16 - Automatický by-pass
17 - Bezpečnostný ventil 3 bar
18 - Plniaci kohút zariadenia
G - Prívod plynu
AC - Odtok teplej úžitkovej vody
AF - Odtok studenej úžitkovej vody
R - Vratný okruh systému
M - beh systému

Other manuals for Immergas nike star 24 3 E

Related product manuals