EasyManua.ls Logo

IMO VXSM75-1 - Page 56

IMO VXSM75-1
114 pages
Print Icon
To Next Page IconTo Next Page
To Next Page IconTo Next Page
To Previous Page IconTo Previous Page
To Previous Page IconTo Previous Page
Loading...
Selecting Functions 5-27
5
Timer operation
Stage 1
An operation pattern from the start of
operation to automatic stop can be created.
Select active or inactive timer operation.
0: Inactive timer operation
1: Active timer operation
Set the time from the start of operation to
automatic stop.
Setting range: 0.00 to 3600 s
Note) If the power is turned off or the inverter is
stopped or trips during timer operation,
the counted time is reset.
Frequency command 2
Select the frequency setting method.
For the selectable frequency setting methods,
refer to the description of F01.
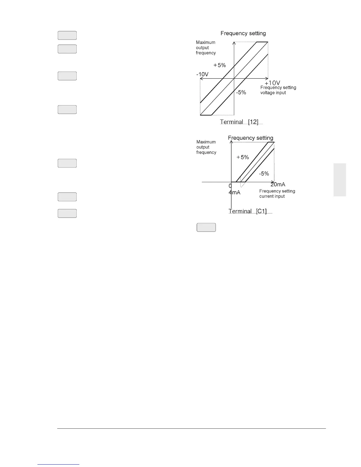
Analog setting signal offset
adjustment (Terminal 12)
Analog setting signal offset
adjustment (Terminal C1)
Set the offset of the analog input (terminal
[12], terminal [C1]).
The offset can be set in the range between -
5.0 [%] and + 5.0 [%] of the maximum output
frequency (in 0.1 [%] step).
C32
C31
C30
C22
C21
C22
C21
Analog setting signal filter
The analog signal supplied to control terminal
12 or C1 sometimes includes electric noise.
Electric noise make the control unstable.
Adjust the time constant of the input filter to
remove the effects of electric noise.
Setting range: 0.00 to 5.00 s
With a large time constant (setting), the
control becomes stable but there is a delay in
the control response. With a small time
constant, the response is quick but the
control becomes unstable.
If the setting is not clear, change the setting
when the control is unstable or the response
is slow.
Note) The function applies to both terminals
[12] and [C1] (in common). However,
when a PID feedback signal is input,
H25 "PID control feedback filter" is
applied.
C33

Table of Contents

Related product manuals