EasyManua.ls Logo

Instron AVE2 - 5988 And 5989 High-Capacity Floor Model Testing Machines

Instron AVE2
88 pages
Print Icon
To Next Page IconTo Next Page
To Next Page IconTo Next Page
To Previous Page IconTo Previous Page
To Previous Page IconTo Previous Page
Loading...
Chapter: Installation
40 M16-16905-EN
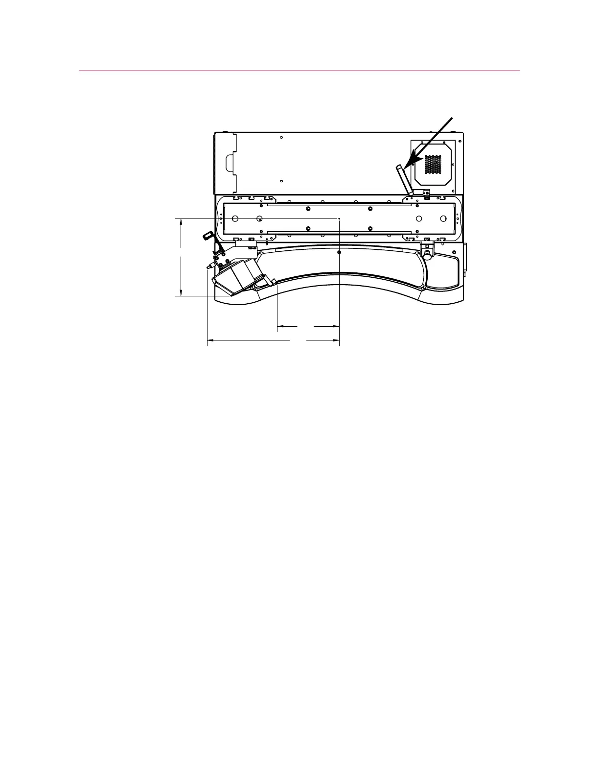
Figure 15. Footprint shown on 5980 Series testing system
5988 and 5989 High-capacity floor model testing machines
Figure 16 on page 41 and Figure 17 on page 42 show the AVE2 installed on a 5988
high capacity floor model testing machine. Dimensions are in mm.
The mounting bracket (A) is the same angled bracket that is used on the 5960 dual
column table model but with additional spacers (B).
Make sure that you mount the bracket into the second T-slot from the outer edge of the
column to ensure proper alignment.
348
600
280
1

Table of Contents

Related product manuals