EasyManua.ls Logo

Intelitek SCORBOT-ER 9 - Page 27

Intelitek SCORBOT-ER 9
54 pages
Print Icon
To Next Page IconTo Next Page
To Next Page IconTo Next Page
To Previous Page IconTo Previous Page
To Previous Page IconTo Previous Page
Loading...
CHAPTER
6
Drive System
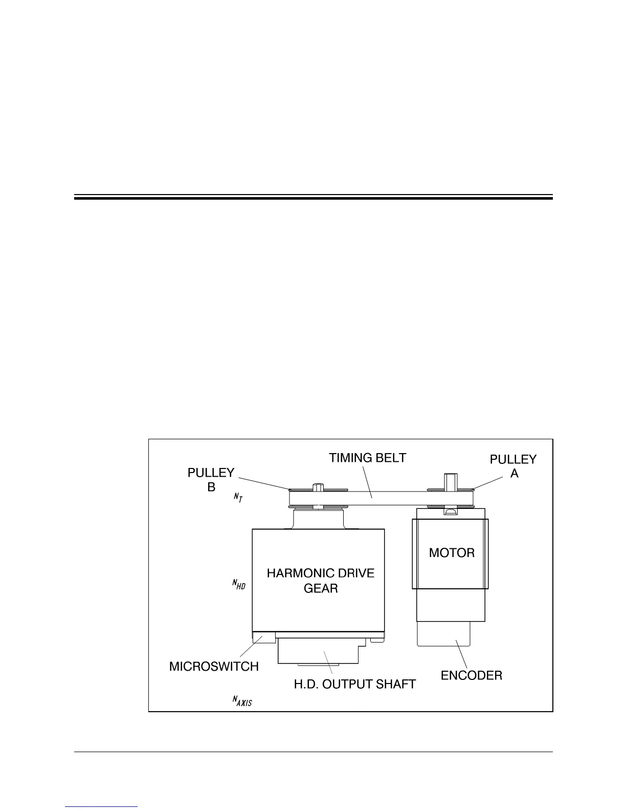
The three main elements of the SCORBOT-ER IX drive system are shown in Figure
6-1:
DC electrical motor
Harmonic Drive gear
Timing belt and pulleys
Figure 6-1 shows the drive system for axes 1 through 4 of the SCORBOT ER-IX.
The roll axis (axis 5) transmission does not contain the pulleys and timing belt;
only a Harmonic Drive is used.
)
Note that the illustrations of components shown in this chapter are for descriptive
purposes, and may not be the actual components used in the SCORBOT-ER IX.
Figure 6-1: The SCORBOT-ER IX Drive System
User’s Manual 6 - 1 SCORBOT-ER IX
9603