EasyManua.ls Logo

Jackson DishStar LT - Terminal Block Box

Jackson DishStar LT
76 pages
Print Icon
To Next Page IconTo Next Page
To Next Page IconTo Next Page
To Previous Page IconTo Previous Page
To Previous Page IconTo Previous Page
Loading...
07610-004-37-13-R
37
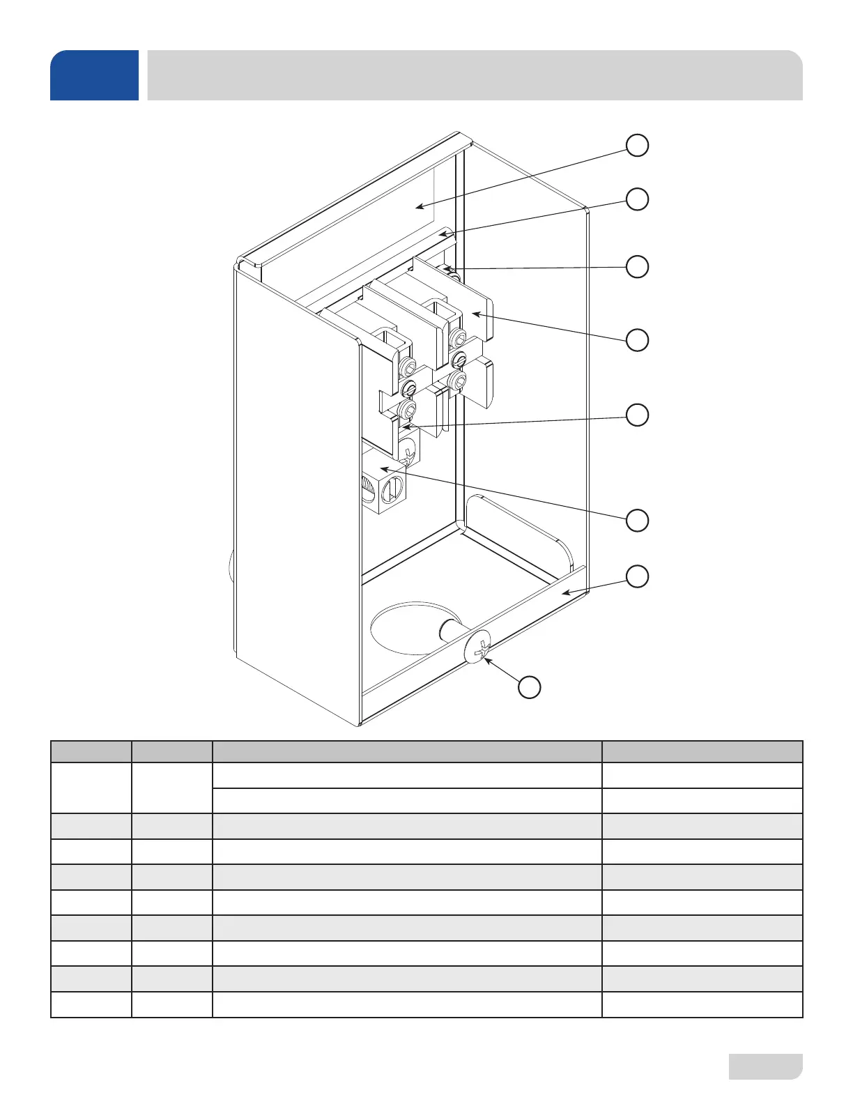
ITEM QTY DESCRIPTION PART NUMBER
1 1
Decal, Power Connections, HT 09905-011-62-72
Decal, Power Connections, LT/LT-H 09905-011-47-64
2 1 Terminal Block Box 05700-003-27-69
1 Terminal Box Cover (Not Shown) 05700-003-27-70
3 1 Decal, Copper Conductors 09905-011-47-35
4 2 Screw, 10-32 x 1/2" 05305-011-39-36
5 1 Ground Lug 05940-200-76-00
6 2 Terminal Block 05940-500-02-19
7 1 Locknut, 10-24 SS Hex with Nylon Insert 05310-373-01-00
8 1 Terminal Block Track 05700-000-43-60
1
2
3
4
5
6
7
8
TERMINAL BLOCK BOX
PARTS

Other manuals for Jackson DishStar LT

Related product manuals