EasyManua.ls Logo

JLG 40H+6 - Swing Bearing Tolerance Measuring Point

JLG 40H+6
152 pages
Print Icon
To Next Page IconTo Next Page
To Next Page IconTo Next Page
To Previous Page IconTo Previous Page
To Previous Page IconTo Previous Page
Loading...
SECTION 2 - PROCEDURES
3120240 – JLG Lift – 2-61
Installation.
NOTE: A thru M only apply to machines built prior to mid of
1991.
NOTE: Manufacturing tolerances of frames and turntables
are inspected prior to the factory installation of swing
bearings to determine the need for use of Devcon
filler. When servicing machine swing bearing, apply
Devcon filler only to those machines having Devcon
previously applied at the factory. If new turntable or
frame is being installed, contact manufacturer for
procedures to determine the need for Devcon appli-
cation.
a. Use suitable standard tools and equipment to
carefully remove any hardened epoxy residue
from the bearing mounting area of frame and
turntable.
b. Apply a layer of Devcon (or equivalent) filler
approximately 0.125 inches (0.318 cm) thick on
the bearing mounting plate on the frame.
c. Use suitable lifting equipment to carefully lower
the swing bearing into position on the frame.
Ensure that the scribed line of the outer race of
the bearing aligns with the scribed mark on the
frame. If a new swing bearing is used, ensure
that the filler plug fitting is at 90 degrees from the
fore and aft centerline of the frame.
d. Ensure that all frame and bearing attachment
holes are aligned, and install four diametrically
opposed bolts or clamps to secure the bearing
to the frame. Tighten the bolts or clamps evenly
in a diametrically opposed pattern to a torque of
20 ft. lbs. (2.77 kgm).
e. Allow Devcon filler to cure at room temperature
(approximately 70 degrees F., 21 degrees C.) for
10 to 16 hours.
f. After the appropriate interval, release the clamps
or remove the bolts. Use a suitable lifting device
to carefully remove the bearing from the frame.
g. Carefully remove any excess filler from the frame
mounting area, from the bearing attachment
holes, and from between the gear teeth.
ENSURE THAT TURNTABLE IS ADEQUATELY SUPPORTED WHILE
APPLYING DEVCON AND WHILE INSTALLING THE BEARING.
EXTREME CARE MUST BE TAKEN DURING THE FOLLOWING
STEPS TO AVOID SERIOUS OR FATAL INJURY TO PERSONNEL.
h. Apply a layer of Devcon (or equivalent) filler
approximately 0.125 inches (0.318 cm) thick to
the underside of the bearing mounting area of
the turntable base plate.
i. Use suitable hydraulic jacks to carefully raise the
swing bearing to the underside of the turntable
mounting plate. Ensure that the scribed line of
the inner race of the bearing aligns with the
scribed mark on the turntable (if a new swing
bearing is used, ensure that the filler plug fitting
is at 90 degrees from the fore and aft centerline
of the turntable).
j. Ensure that all turntable and bearing attachment
holes are aligned, and install four diametrically
opposed clamps or bolts and nuts to secure the
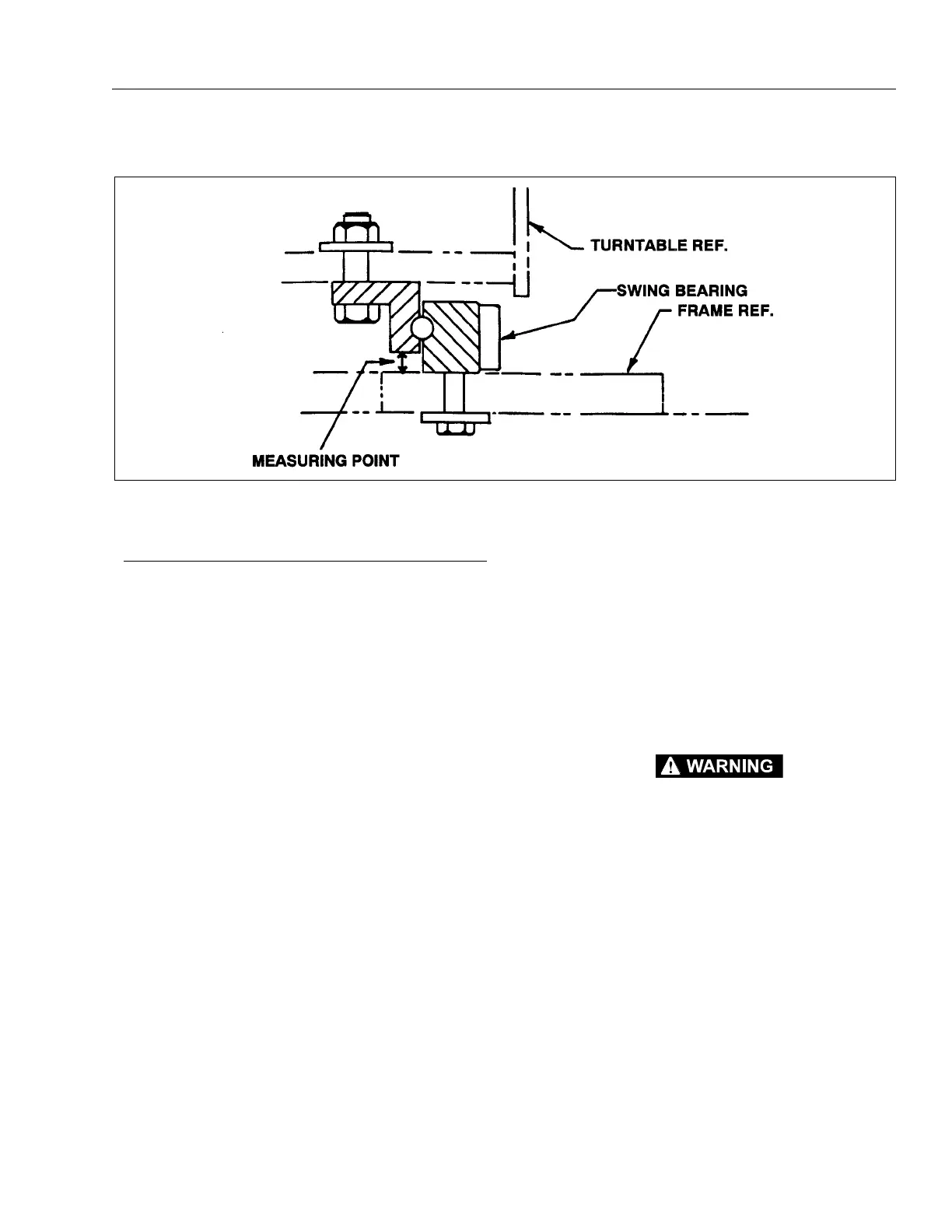
Figure 2-34. Swing Bearing Tolerance Measuring Point.

Table of Contents

Related product manuals