EasyManua.ls Logo

Kaba SIMPLEX 5000 CYLINDRICAL - Installing the Strike; Changing Combinations; Combination Setting Procedures

Kaba SIMPLEX 5000 CYLINDRICAL
24 pages
Print Icon
To Next Page IconTo Next Page
To Next Page IconTo Next Page
To Previous Page IconTo Previous Page
To Previous Page IconTo Previous Page
Loading...
16
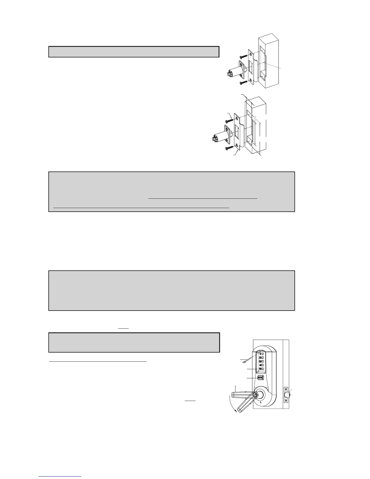
L. INSTALLING THE STRIKE
Note: The latch and strike provided must be used.
L-1 Mark location of strike on the door frame, making
certain that the strike opening is aligned (a) with
the latch bolt.
L-2 Mortise doorframe for strike
3
3
2
" (3 mm)
deep minimum to dimensions shown.
Secure strike (b) to the door frame using
two 1" (25 mm) combination screws (c)
(supplied).
M. CHANGING COMBINATIONS
Note: The factory set combination of your new 5000 series: Press “2” and
“4” at the same time, then release. Press “3”, then release. Press the
“ENTER” button, then release. For your security, the factory set
combination MUST BE changed when lock is installed.
The combination can be easily changed using one to five of the lock’s buttons
in any order in the combination. Each button can only be used once. Note:
Three or more non-sequential button combinations are recommended for
higher security. Also, two or more buttons may be pushed together (at the
same time) as part of your new combination.
CAUTION: The door MUST BE open during this entire procedure.
Note: The combination change can be done without removing lock from door.
Ensure that the door is open during this procedure. Rotate the outside
lever/knob (d) once to stop position and release to reset the lock the latch
should not retract.
M-1 Press the existing combination (b) followed by the ENTER button (c)
and release; do not
turn the lever/knob.
Note: Determine if you have an interior/exterior code
change, and follow appropriate procedure below.
Exterior Combination Change
M-2 Insert the release tool (a) through hole in
number pad and gently lift up loop end of the
tool to depress the code change button until
you hear a click; remove tool and do not
press
any buttons (proceed to M-4).
c
b
a
d
e
a
c
b
1
1
4"
(31mm)
4
7
8" (124mm)
3
3
8" (84mm)

Related product manuals