EasyManua.ls Logo

KAESER CSD 102 - Page 72

KAESER CSD 102
134 pages
Print Icon
To Next Page IconTo Next Page
To Next Page IconTo Next Page
To Previous Page IconTo Previous Page
To Previous Page IconTo Previous Page
Loading...
Maintenance
10 --- 64
Before undertaking any maintenance or service work on the pressure system the machine
must be isolated from the air system and completely vented.
The machine is vented in three stages:
the oil circuit vents automatically when the machine is switched off,
air is vented manually from the oil separator tank,
air is vented manually from the air cooler.
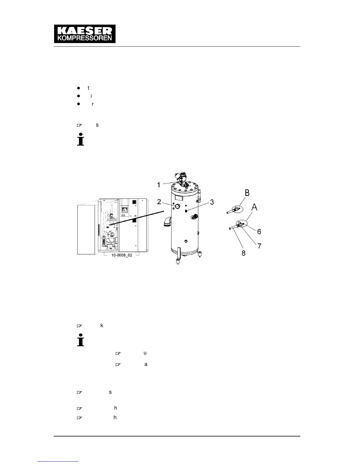
Venting
Close the user’s shut---off valve between the machine and the air main.
If no shut---off valve is provided, the complete air system must be vented.
The hose coupling, shut---off valve and maintenance hose lie beneath the
oil separator tank.
Fig. 27 Ventilate the machine.
1 Hose coupling (air cooler venting) 6 Male hose coupling/fitting
2 Pressure gauge 7 Shut---off valve
A: closed
B: open
3 Hose coupling (oil separator tank ven-
ting)
8 Maintenance hose
Check that the oil separator tank pressure gauge reads zero.
After automatic venting the pressure gauge does not read zero?
Make sure that the shut---off valve is closed.
If manual venting does not bring the oil separator tank pressure gauge
to zero, call KAESER service.
Manually venting the oil separator tank
With the shut---off valve closed, insert the male hose fitting (6) into the hose coupl-
ing (3).
Open the shut---off valve (7) slowly to release pressure.
Withdraw the male hose fitting and close the shut---off valve.

Table of Contents

Related product manuals