EasyManua.ls Logo

KBS mini-Compacta - Page 60

KBS mini-Compacta
86 pages
Print Icon
To Next Page IconTo Next Page
To Next Page IconTo Next Page
To Previous Page IconTo Previous Page
To Previous Page IconTo Previous Page
Loading...
Part No. Part No. Description Part No. Part No. Description
719.01/.02/.
03/.04/.05
Hose
746 Valve disc
722
Flanged taper piece 99-3.1
Set of installation accessories
732
Bracket
400 Gasket
733.01/.02/.
03/.05
Hose clip
550.04 Disc
747
Check valve
551 Spacer disc
100 Body
901.04 Hexagon head bolt
132 Intermediate piece
920.04 Hexagon nut
411.21 Joint ring 99-3.2
Set of pads
412.21/.23 O-ring B5
Vent
531 Locking sleeve
550.21 Disc
746 Valve disc
900.21 Screw
903.21 Screw plug
914.21 Hexagon socket head cap
screw
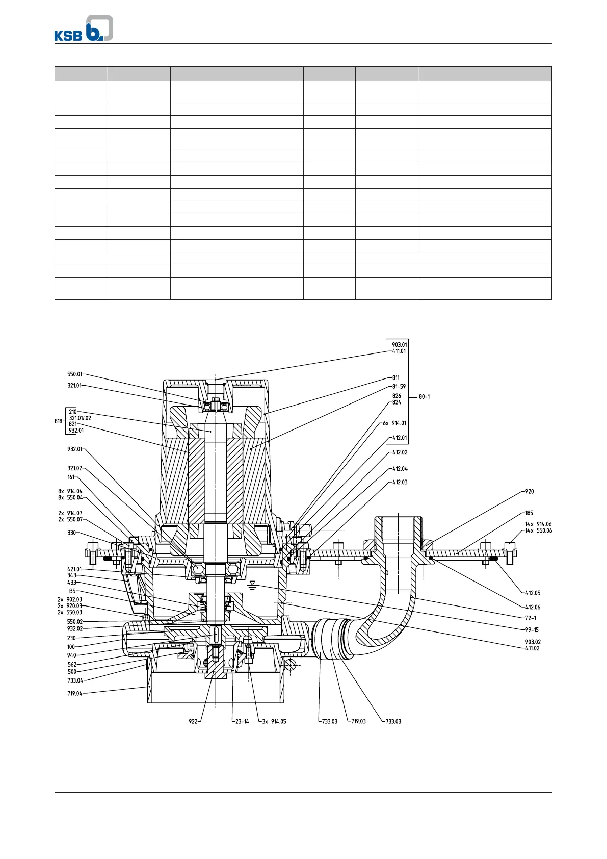
10.1.5 mini-Compacta US100, UZS150 - Rotating assembly
UG 1065439 BL2
Fig. 38: General assembly drawing US100, UZS150 - Rotating assembly
10 Related Documents
60 of 86
mini-Compacta

Table of Contents