EasyManua.ls Logo

KBS mini-Compacta - 10 Related Documents; General Assembly Drawing;Exploded View and List of Components

KBS mini-Compacta
86 pages
Print Icon
To Next Page IconTo Next Page
To Next Page IconTo Next Page
To Previous Page IconTo Previous Page
To Previous Page IconTo Previous Page
Loading...
10 Related Documents
10.1 General assembly drawing/exploded view and list of components
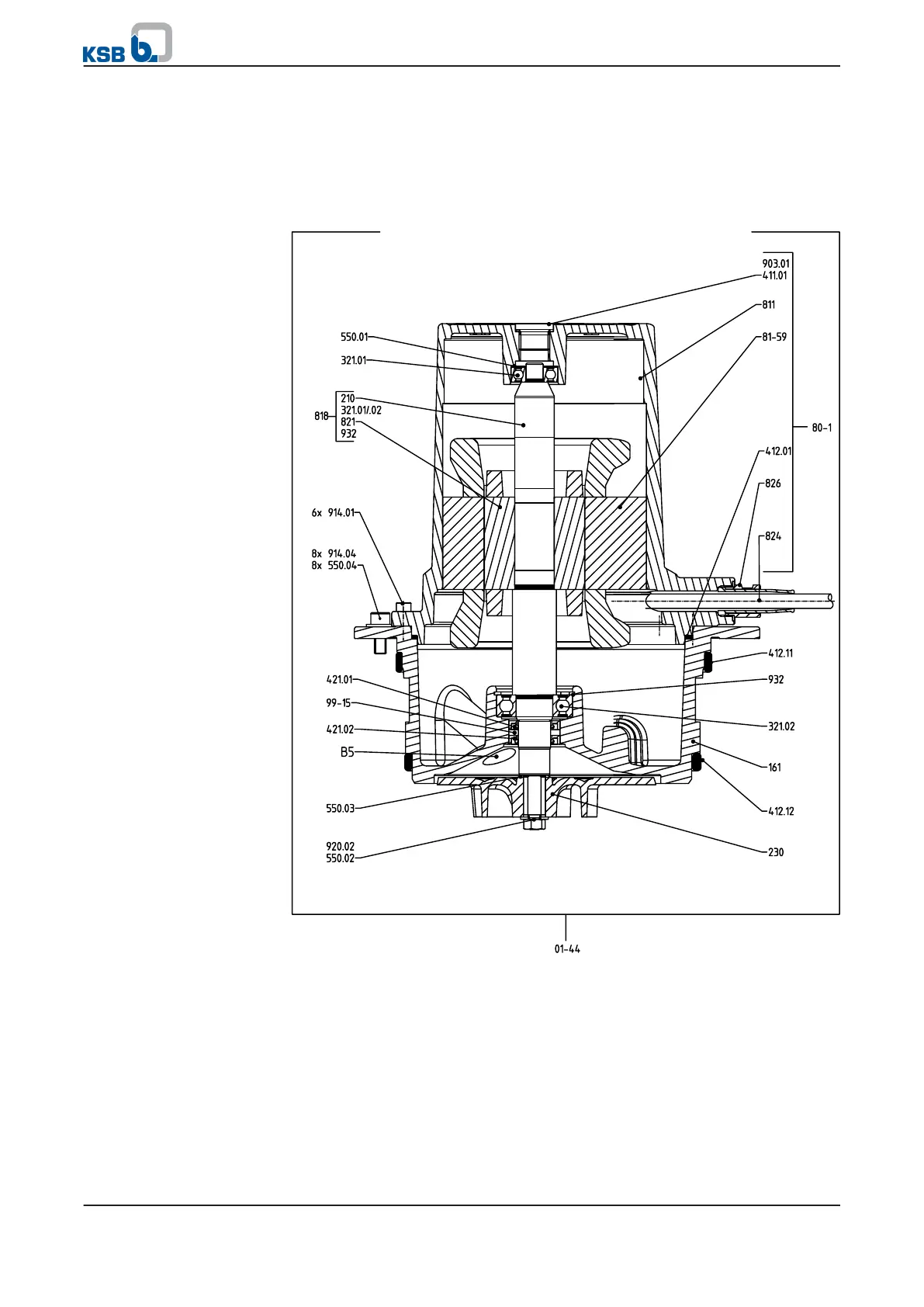
10.1.1 mini-Compacta U60, U100, UZ150 - Rotating assembly
UG 1088985/Bl.1
Fig. 33: General assembly drawing of mini-Compacta U60, U100 - Rotating assembly
10 Related Documents
54 of 86
mini-Compacta

Table of Contents