EasyManua.ls Logo

KEB COMBIVERT F5 Series - Connection of the Control Terminal Strip

KEB COMBIVERT F5 Series
30 pages
Print Icon
To Next Page IconTo Next Page
To Next Page IconTo Next Page
To Previous Page IconTo Previous Page
To Previous Page IconTo Previous Page
Loading...
41
X2A
5
7
8
10
11
14
15
16
20
22
24
25
26
27
28
29
+
1
7
8
1
U
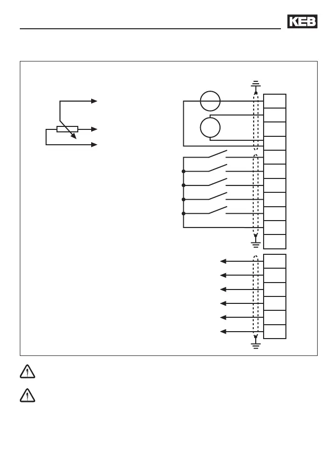
Installation and Connection
3.4.2 Connection of the control terminal strip
Set value
potentiometer
3...10 kOhm
Set value signal
0...±10 V DC
To avoid interferences a separate shielding must be provided for analog and digital control
lines. Depending on the use of the relay outputs, an extra shielding is to be used, too.
In case of inductive load on the relay outputs a protective wiring must be provided (e.g.
free-wheeling diode)!
Analog output
±10 V DC /
max.5 mA
max. 30 V / 1 A DC
max. 30 V / 1 A DC

Other manuals for KEB COMBIVERT F5 Series

Related product manuals