EasyManua.ls Logo

Keyscan CA8500B - Terminate Input Wiring; Door Monitoring Connections

Default Icon
142 pages
Print Icon
To Next Page IconTo Next Page
To Next Page IconTo Next Page
To Previous Page IconTo Previous Page
To Previous Page IconTo Previous Page
Loading...
Keyscan Inc. Technical Guide (PC109x - 07.15)
55
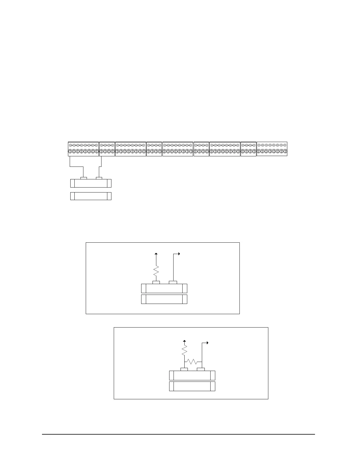
Terminate Input Wiring
The following sub-headings review termination of door contacts, exit, and auxiliary alarm input wiring.
Door Monitoring Connections
A normally-closed door contact is for monitoring door security. Door inputs are shunted during the door relay
unlock time.
Figure 36 Terminate Input Wiring Door Inputs (Contacts)
Cut View of CA8500B
Door Inputs - A RTE Inputs - B
Door 1
8
to
Door
Input
1
Door Contact
to
Common
1K
Single end of line
supervision
to Door Input
1
Door Contact
to Common
1K
Double end of line
supervision
3K
Non-supervised
Notes
Diagram illustrates CA8500B. Connections
also apply to CA250B & CA4500B.
- CA250B up to 2 door inputs
- CA4500B up to 4 door inputs
- CA8500B up to 8 door inputs
Supervision level set in Client software:
System VII & Vantage Site Unit Setup
Aurora Hardware Setup
Supervision level applied to all door inputs, RTE inputs, and auxiliary inputs.
NC
COM
NC
COM
NC
COM
76
54321
Common
8
76
54321
AUX Inputs - C
8
76
54321
Common
Common AUX Inputs - D
16
1514
131211109
Common AUX Inputs - E
24
2322
2120191817
KI-00129E-10-13

Table of Contents

Other manuals for Keyscan CA8500B

Related product manuals