EasyManua.ls Logo

Keysight N6701C - Page 425

Keysight N6701C
430 pages
Print Icon
To Next Page IconTo Next Page
To Next Page IconTo Next Page
To Previous Page IconTo Previous Page
To Previous Page IconTo Previous Page
Loading...
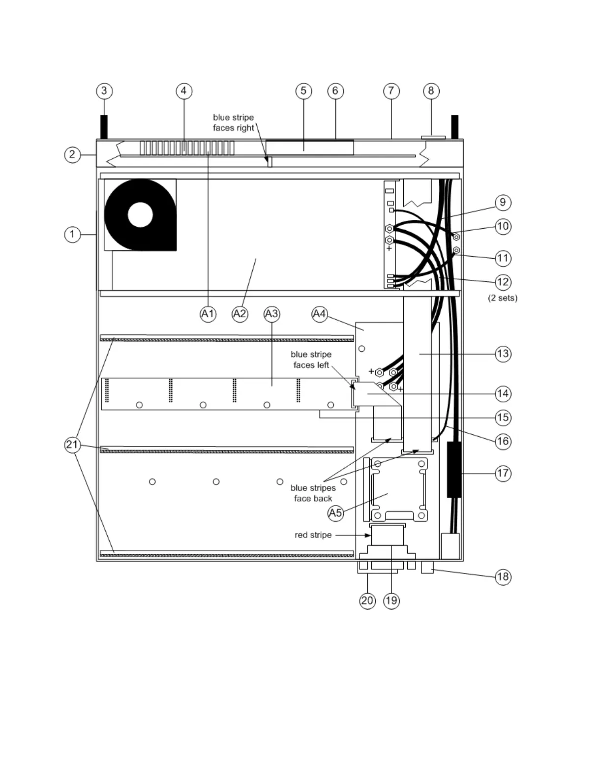
N6702C Mainframe Part Locations
Keysight N6700C Operating and Service Guide 425
7 Service and Maintenance

Table of Contents

Related product manuals