EasyManua.ls Logo

KING MAX T810 - Servo Direction; SETTING CPA(Center Point Adjustment) FUNCTION; Setting Epa(End Point Adjustment) Function

Default Icon
20 pages
Print Icon
To Next Page IconTo Next Page
To Next Page IconTo Next Page
To Previous Page IconTo Previous Page
To Previous Page IconTo Previous Page
Loading...
page 16
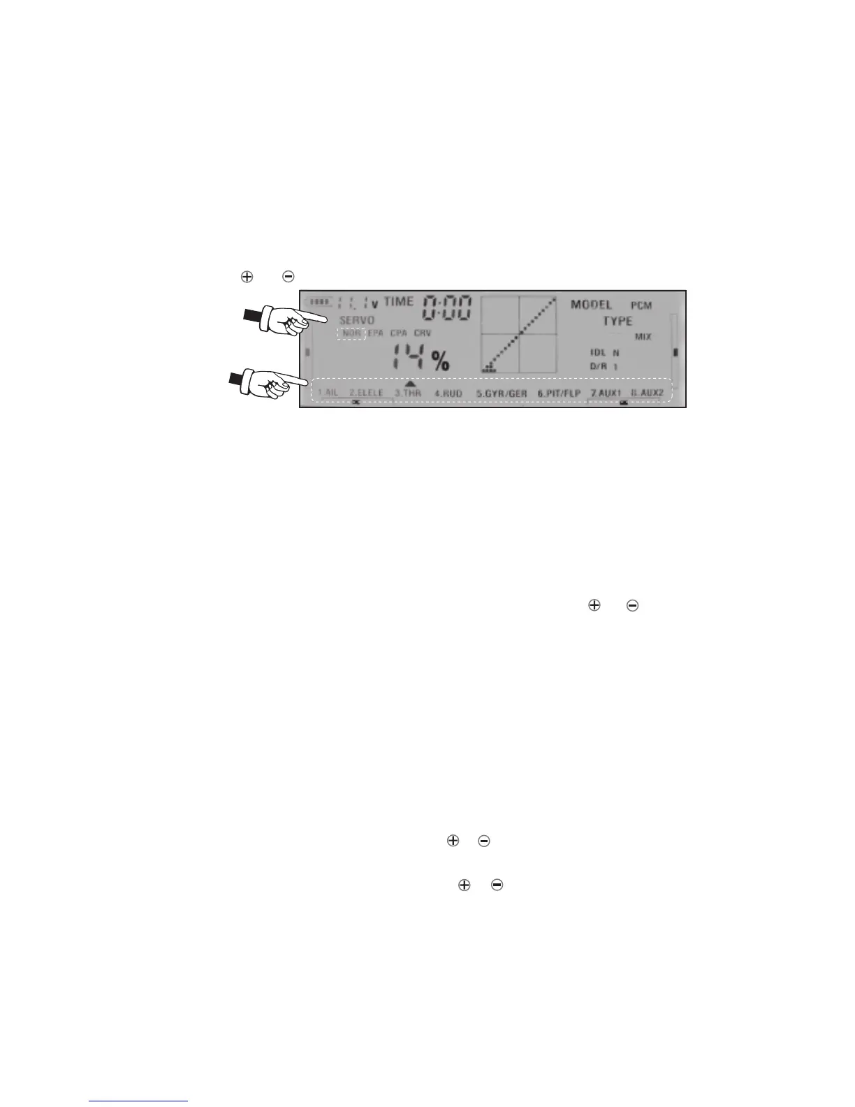
6SERVO DIRECTION
To reverse servo direction, following to the following steps:
Press SET key to SERVO blink, then press ENT key. When the REV (NOR) blinking
on the LCD screen. Next press CH key to select the channel you wish to change.
Push or key to make the servo operate normally(NOR) or Reverse(REV).
7SETTING CPA(Center Point Adjustment) FUNCTION
This fuction ues to adjust the center of the servos installed in your model.
1) Move the channel stick you want to the middle position.
2) Press SET key to SERVO blink, then press ENT key one time, next press SET again
until CPA is blinking.
3) Use CH key to select the channel you want to adjust. Next press or key to
select the servo you want to adjust CPA point. Press ENT key to confirm. You will
hear long sound as confirmation.
8 . SETTING EPAEND POINT ADJUSTMENT FUNCTION
1) It is to adjust the end of individual servo’s travle. The range for HI position is from 0%-125%
and for LO position is -125%-0%.
2Switch D/R to position 1, IDLE to position N , TC to position 0 .
3) Press SET key to SERVO blink. When Servo is blinking press ENT key. Next press SET
key until EPA is blinking. Use CH key to select the channel you want to adjust.
Move(switch) the control stick of channel you selecting to minimum and you can see LO
appear on the screen and blink, now use or key to set the end of servo’s travle value.
When the EPA is blinking, Push the a control stick to the maximum (the right) the
HI will appear on the screen and blink, use or key to set the end of servo’s travle value.
4) Press ENT key at the end to confirm your choice. You will hear a long sound as confirmation
that the value was written to memory.
NOTE:User must check and correct all servo direction before flight.Wrong servo
direction movement may cause a crash.
ACRO