EasyManua.ls Logo

Kollmorgen S700

Kollmorgen S700
216 pages
Go to English
To Next Page IconTo Next Page
To Next Page IconTo Next Page
To Previous Page IconTo Previous Page
To Previous Page IconTo Previous Page
Loading...
S700 Safety Guide | 3 Français
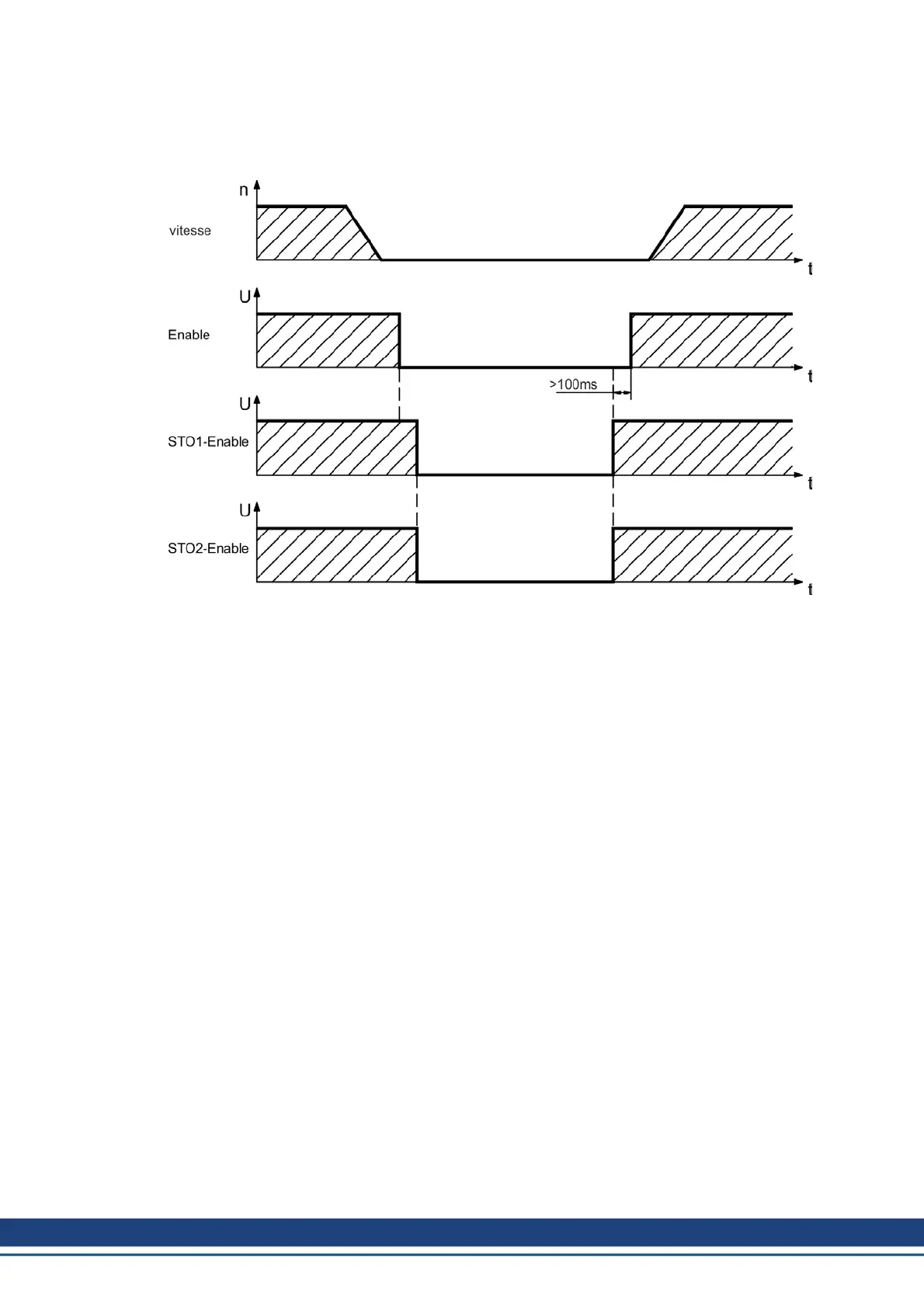
Schéma de la fonction
Le schéma montre comment la fonction STO doit être utilisée afin de garantir un arrêt en
toute sécurité de l’entraînement et un fonctionnement sans problème du variateur.
100 Kollmorgen | September 2015

Table of Contents

Other manuals for Kollmorgen S700

Related product manuals