EasyManua.ls Logo

Kollmorgen S700

Kollmorgen S700
216 pages
Go to English
To Next Page IconTo Next Page
To Next Page IconTo Next Page
To Previous Page IconTo Previous Page
To Previous Page IconTo Previous Page
Loading...
S700 Safety Guide | 5 Русский
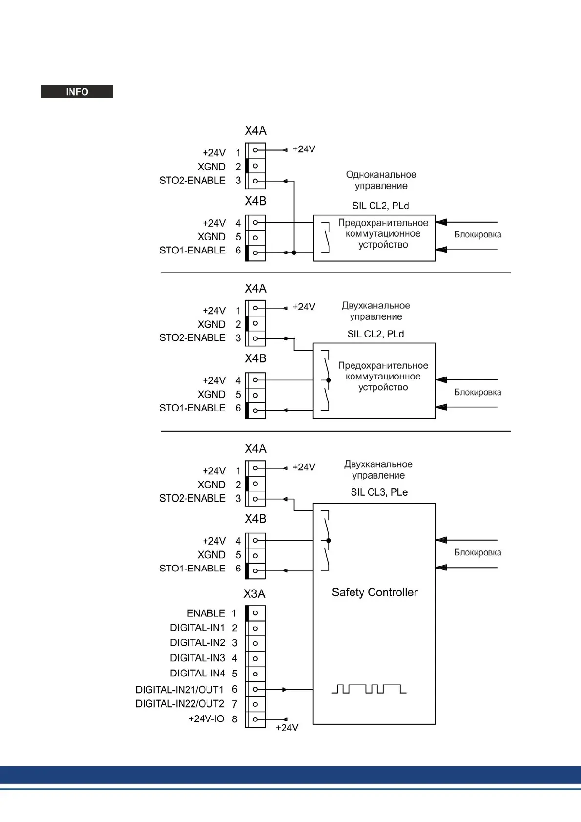
Сигнальная диаграмма S701...724
Для достижения категории безопасности SIL CL3 / PLe сигнал о состоянии ком-
мутирующего элемента блокировки импульсов командой ASCII OxMODE70 подается
на один из цифровых выходов, DIGITAL-OUT1/2 (X3A/6 или X3A/7) усилителя S700.
176 Kollmorgen | September 2015

Table of Contents

Other manuals for Kollmorgen S700

Related product manuals