EasyManua.ls Logo

Kollmorgen S700

Kollmorgen S700
216 pages
Go to English
To Next Page IconTo Next Page
To Next Page IconTo Next Page
To Previous Page IconTo Previous Page
To Previous Page IconTo Previous Page
Loading...
S700 Safety Guide | 5 Русский
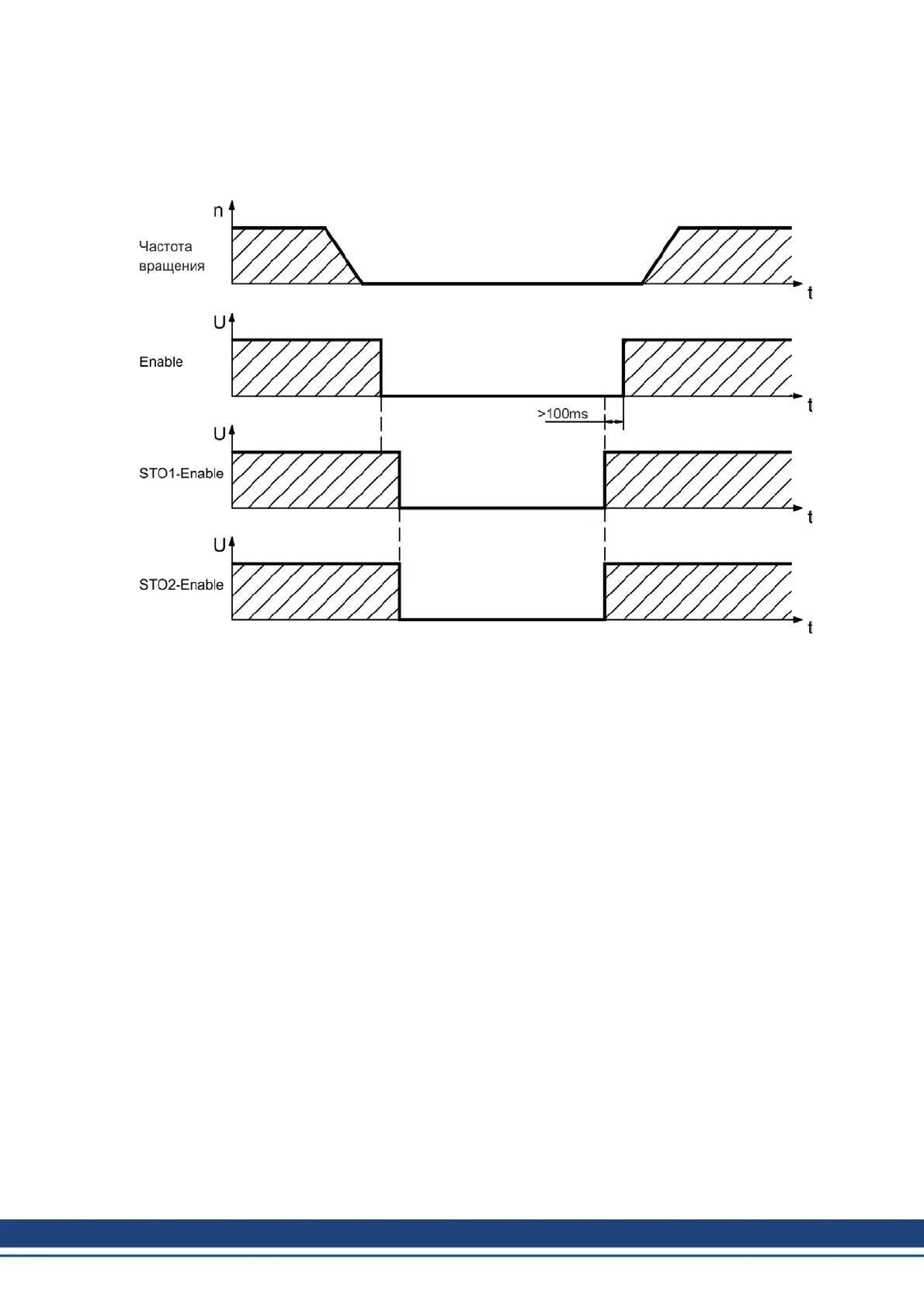
Диаграмма сигналов
Диаграмма показывает, как необходимо использовать систему блокировки запуска
STO, чтобы обеспечить надежный останов привода и безотказную работу сер-
воусилителя.
178 Kollmorgen | September 2015

Table of Contents

Other manuals for Kollmorgen S700

Related product manuals