EasyManua.ls Logo

Kollmorgen S700

Kollmorgen S700
216 pages
Go to English
To Next Page IconTo Next Page
To Next Page IconTo Next Page
To Previous Page IconTo Previous Page
To Previous Page IconTo Previous Page
Loading...
S700 Safety Guide | 1 Deutsch
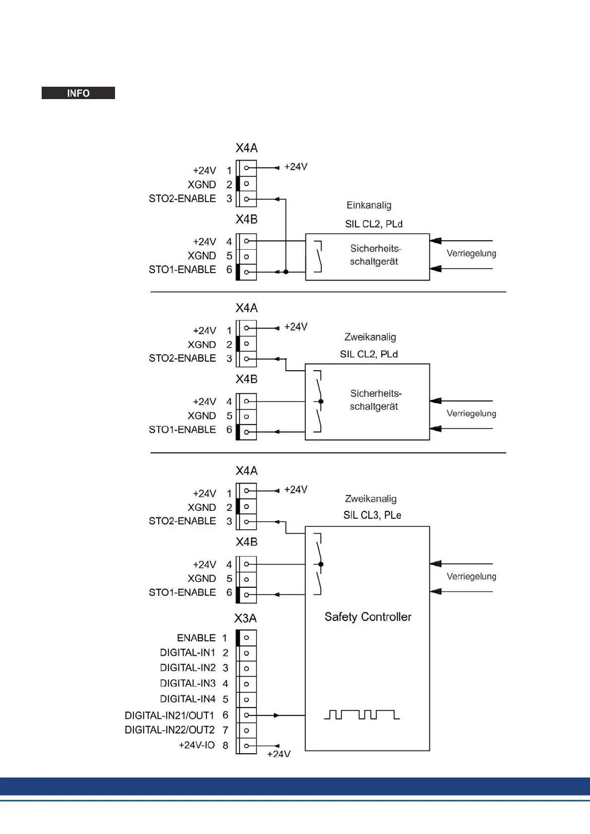
Anschlussbelegung S701...S724
Zum Erreichen von SIL CL3 / PLe wird der Schaltzustand der Impulssperre (Status) mit dem
ASCII-Befehl OxMODE 70 auf einen der digitalen Ausgänge DIGITAL-OUT1 oder 2 (X3A/6
oder X3A/7) des S700 gelegt.
22 Kollmorgen | September 2015

Table of Contents

Other manuals for Kollmorgen S700

Related product manuals