EasyManua.ls Logo

Kollmorgen S700

Kollmorgen S700
216 pages
Go to English
To Next Page IconTo Next Page
To Next Page IconTo Next Page
To Previous Page IconTo Previous Page
To Previous Page IconTo Previous Page
Loading...
S700 Safety Guide | 1 Deutsch
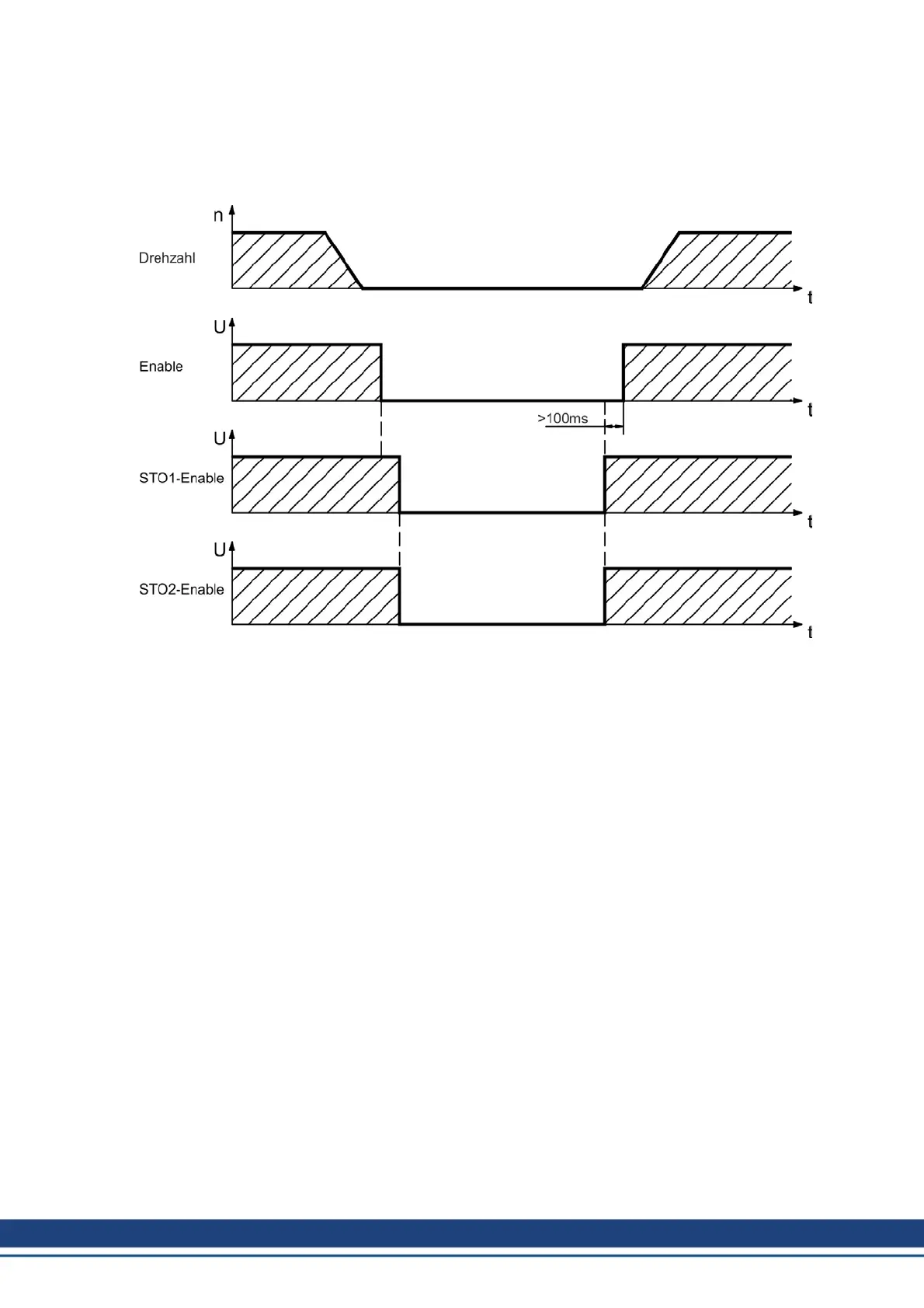
Signaldiagramm
Das Diagramm zeigt, wie die Funktion STO genutzt werden sollte, damit ein sicherer Halt
des Antriebs und fehlerfreier Betrieb des Servoverstärkers gewährleistet ist.
24 Kollmorgen | September 2015

Table of Contents

Other manuals for Kollmorgen S700

Related product manuals