EasyManua.ls Logo

Konami HELLNIGHT - Opening and Closing the Coin Door

Konami HELLNIGHT
53 pages
Print Icon
To Next Page IconTo Next Page
To Next Page IconTo Next Page
To Previous Page IconTo Previous Page
To Previous Page IconTo Previous Page
Loading...
13
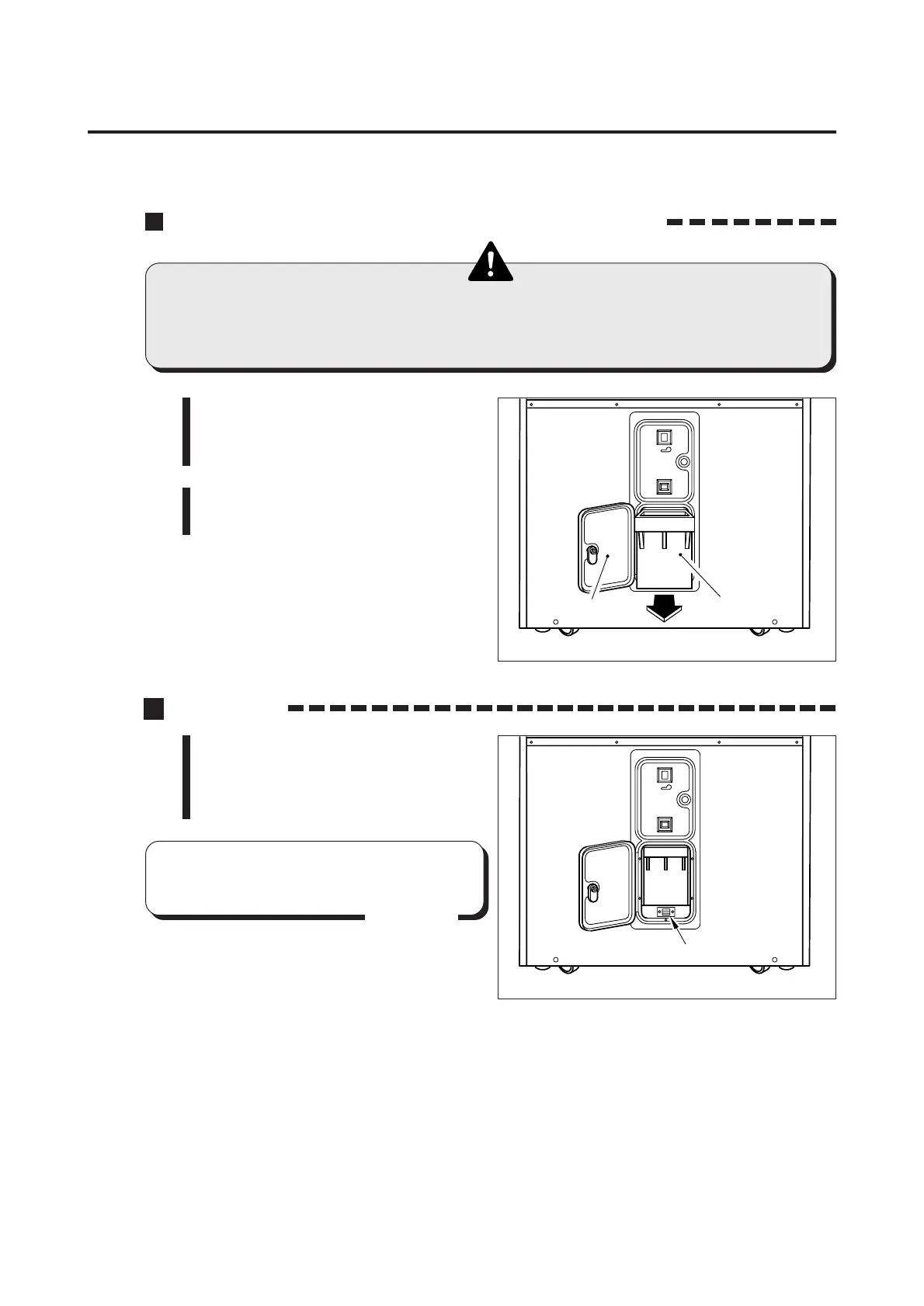
Coin counter
Coin door
Coin box
4 Opening and closing the doors
4-2 Opening and closing the coin door
Opening and closing the coin door and removing the coin box
1 Insert the attached coin door key
in the coin door and turn it
clockwise.
2 Open the coin door and take out
the coin box.
Coin counter
You will find the coin box when the
coin door is opened.
The coin counter is located under
the coin box.
•Take care not to apply any load or impact to the coin door when it is open.
•Securely lock the door for protection against burglaries.
•Note that the coin box is considerably heavy to take out if it is full of coins.
•To move the coin counter onto the
service panel, see page 27.
MEMO

Related product manuals